Тушение пожаров на судах
Основными причинами пожаров на маломерных судах являются: неосторожное и небрежное обращение с открытым огнем; воспламенение и взрывы топлива; неисправность электрооборудования и нарушение правил его эксплуатации.
Нередко причиной пожара служит брошенная спичка, непотушенный окурок, оставленный без присмотра огонь. Решающим фактором спасения судна при возникновении пожара является немедленное тушение очага возгорания. Выбор способа тушения пожара зависит от характера пожара и имеющихся средств его тушения. Если пожар возник в помещении, то для ограждения притока воздуха помещение необходимо герметизировать и после этого применять средства тушения.
Существует два основных способа тушения: поверхностный и объемный.
Поверхностный способ тушения предусматривает действие огнегасительных веществ на поверхность горючего материала.
При объемном способе огнегасительные вещества вводятся в герметизируемое помещение, в котором возник или может возникнуть пожар.
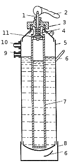
Для тушения пожара в начальной фазе используются переносные огнетушители различных типов (пенные, углекислотные, жидкостные, порошковые и др.), так называемые "покрывала" (кошма, кусок брезента, одеяло), а также вода, песок, сода, асбест, графит и т.д. Наибольшее распространение на судах имеют пенные и углекислотные огнетушители. Заряд химических пенных огнеытушителей (рис. 257) состоит из щелочной и кислотной частей. При приведении в действие огнетушителя щелочная и кислотная части заряда сливаются вместе, вступают в химическую реакцию и образуют пену.

Рис. 257. Разрез химического пенного
огнетушителя.
1 - шток клапана; 2 - рукоятка с эксцентриком; 3 - крышка; 4 -
пружина клапана; 5 - корпус огнетушителя; 6 — ручки; 7 - кислотный цилиндр; 8 -
юбка; 9 - предохранитель; 10 — спрыск; 11— клапан
Пена под действием давления выбрасывается через спрыск. Для приведения в действие огнетушителя необходимо откинуть рукоятку эксцентрика вверх до отказа, перевернуть огнетушитепь вверх дном и направить струю пены в очаг пожара. Углекислотный огнетушитель (рис. 258) заряжен углекислотой, которая выходя из насадки, быстро испаряется.

Рис. 258. Углекислотный огнетушитель.
1 -
запорный вентиль; 2 -раструб; 3 — ручка; 4 - баллон; 5 - сифонная трубка; 6 -
предохранитель.
Для выпуска углекислоты присоединяется раструб, свободно вращающийся в вертикальной плоскости и служащий для лучшего снегообразования. Огнетушитель приводится в действие путем открывания запорного вентиля до отказа и направления струи снега к очагу пожара. При этом огнетушитель держится вертикально и как можно ближе к очагу пожара. В порошковых огнетушителях в качестве заряда используются порошковые составы, которые выбрасываются под давлением через сопла. "Покрывала" используются для покрытия очагов пожара в целях прекращения доступа к ним воздуха.
Применение воды при тушении пожаров известно хорошо. Маломерные суда в отличии от больших морских и речных судов не оборудуются стационарными системами пожаротушения, поэтому основным способом доставки воды к очагу возгорания на катере и лодке служит зачерпывание ее ведром и заливание огня. Современные большие прогулочные суда и яхты имеют как переносные средства, так и стационарные противопожарные системы водотушения, пенотушения, паротушения и даже системы с применением инертных газов и легкоиспаряющихся жидкостей. К недостаткам использования воды при тушении пожаров следует отнести то, что водой нельзя тушить загоревшееся электрооборудование под напряжением, а также порча от воды некоторых предметов и судового оборудования.
При возгорании электрооборудования его необходимо немедленно обесточить. Для тушения горящего генератора и иного электрооборудования, находящегося под напряжением, используются углекислотные огнетушители, другие средства не рекомендуются. Углекислый газ не влияет на снижение сопротивления изоляции электрооборудования. В случае если для тушения обесточенного электрооборудования использовалась воздушно-механическая пена, то после ее применения электрооборудование требует просушки. После использования воды (особенно морской) или химической пены электрооборудование может быть выведено из строя на длительное время. Если тушение пожара осуществлялось объемным способом с использованием стационарных систем пожаротушения, то помещение может быть введено в эксплуатацию только после его разгерметизации.
При возникновении очага возгорания на маломерном судне судоводителю рекомендуется:
-
Немедленно заглушить двигатель и расположить судно так, чтобы огонь и искры ветром относило в сторону от легковоспламеняющихся и горючих материалов, находящихся на судне.
-
Отдать команду находящимся на борту людям одеть спасательные жилеты.
-
Быстро принять решение о способе тушения очага возгорания и использовать находящиеся на судне противопожарные средства ("покрывала", огнетушитель, вода и др.).
-
Четко отдавать указания находящимся на борту людям (если этого требуют обстоятельства) по оказанию помощи в тушении пожара и не допустить среди них паники.
-
В случае невозможности локализовать и потушить пожар отдается команда покинуть судно, подается сигнал бедствия и запрашивается помощь по радио (если есть радиостанция).
При этом, учитывая влияние ветра, нужно постараться отплыть как можно дальше от покинутого судна и стараться держаться в воде недалеко друг от друга. Это позволит оказывать необходимую помощь друг другу до подхода спасателей или во время самостоятельного движения к берегу (острову, отмели и т.п.). При оставлении горящего катера (мотолодки), яхты необходимо позаботиться о том, чтобы за борт своевременно были брошены спасательные круги, свободные жилеты и другие плавающие предметы, которые можно использовать для спасения. Кроме того, судоводителю следует обеспечить взятие с судна хотя бы спичек, медицинской аптечки (рекомендуется хранить на судне в водонепроницаемой упаковке) и ножа, которые могут пригодиться в дальнейшем.






