Система «VRO» (Variable Ratio Oiling)
Система «VRO» (Variable Ratio Oiling), дозирующая подачу масла в топливо в зависимости от режима работы двигателя, впервые появилась на «Джонсонах» и «Эвинрудах» в 1983 г. Она включает в себя отдельный масляный бачок емкостью 6,8 л (этого количества достаточно для расходования 340 л бензина на полной нагрузке), который располагается внутри лодки рядом с бензобаком, насос и бензомаслопомпу (рис. 27).

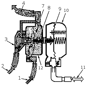
Рис. 27. Принципиальная схема устройства комбинированного бензомаслонасоса «VRO». 1 — бензошланг от бака; 2 — маслопровод от бака; 3 — масляный насос; 4 — смесь бензина с маслом, поступающая к карбюратору; 5 — шток, соединяющий диафрагму бензонасоса с поршнем 6; 6 — «плавающий» поршень маслонасоса; 7 — смесительная камера; 8 — шток бензонасоса; 9 — приводная диафрагма (мембрана); 10 — привод насоса, работающий от пульсации давления в картере; 11 — шланг, соединяющий камеру 10 с картером; 12 — бензонасос.
Масло из бачка подается по шлангу насосом, который скомбинирован с бензопомпой диафрагменного типа, работающей от пульсации давления в картере двигателя. Для рабочих ходов бензопомпы используется как повышенное давление в картере, так и разрежение, а при помощи специального устройства ход диафрагмы увеличен по сравнению с обычными топливными насосами этого типа.
Диафрагма помпы связана штоком с плавающим поршнем маслонасоса, производительность которого в 50-150 раз меньше, в зависимости от нагрузки и оборотов двигателя. На низких оборотах поршенек маслонасоса приводится в движение толчками бензина, создаваемыми диафрагмой. При увеличении оборотов, когда амплитуда колебаний давления в картере и диафрагмы увеличиваются, рабочий ход поршенька происходит благодаря упору в него штока, связанного с диафрагмой. Ход поршенька увеличивается, соответственно возрастает и производительность маслонасоса. Содержание масла в смеси может изменяться от 0,6 до 2%.
Масло смешивается с бензином в топливном трубопроводе перед поступлением смеси в карбюратор, что несколько снижает эффективность системы. Например, если лодка идет на высокой скорости и в карбюратор поступает смесь, богатая маслом, то при сбрасывании оборотов в его поплавковой камере еше в течение некоторого времени будет находиться богатая смесь. В результате мотор будет работать с дымным выхлопом и повышенным расходом масла.
В 1987 г. «ОМС» оборудует системой «VRO» все модели своих моторов мощностью от 40 до 300 л.с. Масляный бачок, находящийся в лодке, удобен для заправки, однако к мотору нужно подсоединять два шланга.
С целью снижения загрязнения водоемов для моторов небольших мощностей (от 9,9 до 30 л.с.) «ОМС» разработала усовершенствованный топливный бак «Autoblend», в котором автоматически приготавливается рабочая топливная смесь в соотношении 1:100. (рис. 28).

Рис. 28. Топливный бак «Аutoblend» (а) и схема его работы (б). 1 — бензобак емкостью 20,3 л; 2 — горловина для заправки бензином; 3 — маслофильтр; 4 — горловина для заправки маслам; 5 — индикатор уровня масла; 6 — резервуар для масла; 7— поплавок индикатора уровня; 8 — привод запорного клапана, работающий от поплавка; 9 — заборчик масла и смеситель бензина с маслом; 10 — заборник бензина; 11 — смесь бензина с маслом.
В корпусе бензобака монтируется емкость для масла вместимостью 1,4 л с отдельной заправочной горловиной. Этого количества масла достаточно для шести заправок бензином по 20,3 л каждая.
Через заборник бензин поступает в нижнюю часть масляной емкости, где имеется запорный клапан и калиброванный жиклер для ввода масла. При работе топливной помпы, расположенной на моторе, за счет возникающего в топливопроводе разрежения клапан открывается и через жиклер в смесительную камеру поступает дозированное количество масла. При увеличении расхода бензина возрастает и подача масла через жиклер.
В масляной емкости имеется поплавковый датчик уровня масла. Когда там остается 0,47 л масла, срабатывает световой сигнал, а если масло закончится, поплавок опускается и перекрывает клапан на бензопроводе.
«Autoblend» избавляет владельца мотора от необходимости пользоваться мерным сосудом при каждой заправке бака и взбалтывания смеси в баке. Исключается также работа мотора на смеси, бедной маслом, что чревато серьезными последствиями для двигателя.






