Гик
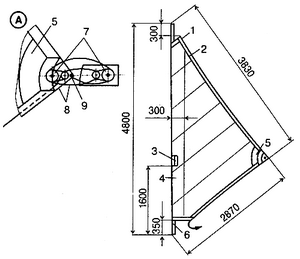
Гик (рис. 72) по внешнему виду напоминает одну из дуг уишбона виндсерфера. На его ноке расположено натяжное устройство для регулировки «пауза» паруса, состоящее из пары двухшкивных блоков. С другой стороны гика имеется пары, которым он надевается на горизонтальный штырь втулки мачты и закрепляется барашком.

Рис.72. Гик:
1 - плечо, труба 36х1; 2 - колено, труба
40х1,5; 3 - связывающий шкертик; 4 - штырь Ø5






