Мачта
Мачта (рис. 73) изготавливается трёхколенной, с опорой верхних частей на сквозные штыри средней трубы. Шпор её устанавливается непосредственно на степс центральной балки. Вся мачта поставлена в шпоре на скобу-утку, согнутую из прутка Ø8 мм.

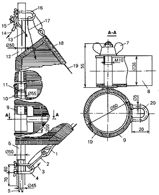
Рис. 73. Мачта:
1 - сгон ликтроса нижней шкаторины; 2 -
соединительная мочка; 3 - ходовой конец тали регулировки «пуза» паруса; 4 -
нижняя скоба Ø8 мм; 5 - шпор мачты; 6 - нижнее колено мачты, труба 50x2, длина
1650 мм; 7 - гайка-барашек М10; 8 - гик; 9 - скользящая втулка гика; 10 -
среднее колено мачты, труба 55x2, длина 1750 мм; 11 - упорная заклепка Ø4; 12 -
верхнее колено мачты, труба 50x1,5; длина 1750 мм; 13, 15 - ванты, 14 - штаг; 16
- верхняя скоба Ø8; 17 - ходовой конец фала; 18 - карман задней шкаторины; 19 -
ликтрос; 20 - скоба проводки фала
На «Альтаире» использован парус типа «Стриж» (рис. 74). Поднимается один лишь грот (вооружение «кэт»): он может крепиться на мачте с помощью кармана шириной 250-300 мм, прошитого по всей длине передней шкаторины. Но лучше сделать «Стриж» двухслойным. В этом случае должно улучшиться аэродинамическое качество паруса, так как роль кармана - «мягкого» обтекателя мачты - будет выполнять все полотнище. Кстати, изготовление его значительно упростится.

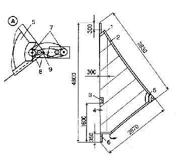
Рис. 74. Парус «Стриж»:
1 - нашивки усиления шкаторин
паруса; 2 - карман троса задней шкаторины; 3 - вырез под втулку; 4 - мачтовый
карман; 5 - боуты шкотового угла; 6 - мачта; 7 - двух -шкивный блок; 8 - ходовой
конец; 9 - заделка конца в шкотовом углу паруса; А - таль регулировки «пуза»
паруса






