Шверт и руль
Шверт и руль на «Альтаире» совместно создают необходимое боковое сопротивление. Шверт (рис. 70) находится на перекрестье мидельной и продольной балок на фасонном разрезном болте. Этот болт также удерживает балки от вращения относительно друг друга, а чтобы он не погнулся, приходится укреплять его верхней накладкой.

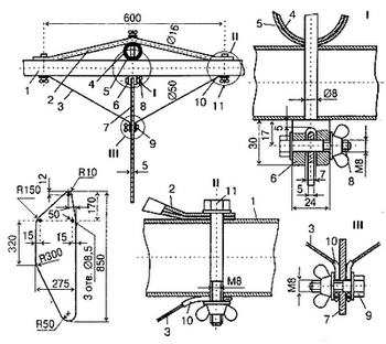
Рис. 70. Шверт и его крепление:
1 - мидельная балка; 2
- накладка, труба 16x2; 3 - трос-расчалка шверта Ø3 мм; 4 - центральная балка -
кормовая секция; 5 - центральная балка - носовая секция; 6 - вилка-болт М10; 7 -
шверт; 8 - болт крепления шверта М8; 9 - болт расчалок М8; 10 - огон - трубка
троса; 11 - болт М8х80
Шверт ставится в рабочее положение, если отпустить управляющий шкертик, идущий от него к задней балке. Подъем осуществляется снастью, пропущенной через переднюю балку. В воде он автоматически становится к потоку под углом атаки около 2-4° (в этом положении его удерживают две пары расчалок-тросов, проведенных от передней и задней его кромок к вспомогательным болтам мидельной балки), что позволяет катамарану двигаться почти без дрейфа.
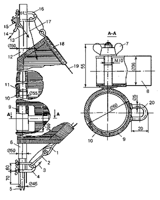
На «Альтаире» применен дюралюминиевый листовой шверт толщиной 5 мм; по сравнению с профилированным - объемным - он, как показала практика, более «живуч». В случае попадания при значительном дрейфе на мель или наезде на высоко сидящий в воде камень он только гнется, но не ломается и не вырывает расчалки. Правда, приходится мириться с несколько большим лобовым сопротивлением. Руль катамарана (рис. 71) вынесен далеко в корму и имеет большую, чем обычно у таких судов, площадь. Это обеспечивает быстрое и уверенное выполнение поворотов. Перо руля толщиной 4 мм изготовлено, как и шверт, из листа дюралюминия. Баллер проходит через накладку в самом конце центральной балки. В нижней его части имеется вертикальнй вырез, в котором на зашплинтованной оси-болте ставится само перо. Отдаётся оно в рабочее положение и поднимается с помощью сорлиня. Для удобства управления румпель снабжен удлинителем.

Рис. 71. Руль:
1 - перо руля, дюралюминий; 2 -
баллерная труба 32х4; 3 - заклепка Ø3; 4 - центральная балка; 5 - баллерная
накладка; 6 - усиливающая втулка, нержавеющая сталь, труба 34х1; 7 - сорлинь; 8
- шплинт Ø3 мм; 9 - удлинитель румпеля, труба 18х1; 10 - соединяющий палец Ø8
мм; 11 - скоба крепления сорлиня; 12 - румпель, труба 24х1; 13 - ограничитель Ø6
мм; 14 - ограничитель поворота руля Ø5 мм; 15 - ось-болт руля М8
Парусная центровка катамарана выбрана такой, чтобы при свободно положенном румпеле приводиться на всех курсах. Это одно из требований безопасности, и Альтаир» сам становиться в наиболее безопасное положение относительно ветра. Центровку можно несколько корректировать, отклоняя шверт вперед или назад.






