Кормовые откидные подводные крылья для моторной лодки "Казанка" по своей конструкции и принципу действия отличаются от носового крыльевого устройства.
С целью сокращения времени на опускание и подъем крыла и двигателя, а также чтобы не делать вырез для двигателя в транце, применена следующая схема: крыло, стойки и подмоторный щит объединены в один общий узел, размещенный непосредственно за кормой лодки. К лодке этот узел непосредственно не крепится, а вводится снизу в направляющие транцевой рамки и удерживается в ней двумя фиксаторами.
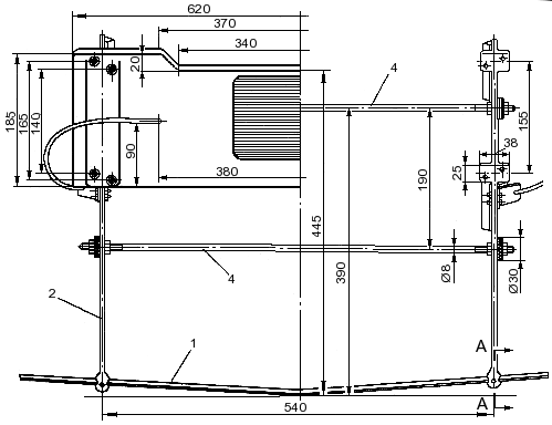
Транцевая рамка (рис. 65) сваривается из стального уголка 25×25 и служит для удерживания кормового крыльевого устройства в определенном положении.

Рис. 65. Транцевая рамка
Роль направляющих выполняют вертикальные стойки 1. Поэтому во время сборки и приварки стоек к поперечинам 2 необходимо обеспечивать строгую параллельность и симметричность стоек относительно рамки. Крепление рамки к транцу осуществляется с помощью двух шпилек 3, приваренных в верхней части рамки, и двух ушек 4 с отверстиями для пропуска пальцев 5. Проушины 6 крепятся на транце у самого днища лодки на резиновых шайбах 7.
Отверстия для шпилек 3 в верхней части транца выполняются в виде овалов. Угол атаки кормового крыла регулируется поворачиванием рамки относительно пальцев 5.
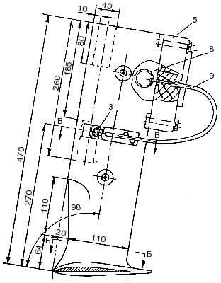
Стойки 2 кормового крыла (литье из алюминиевого сплава) (рис. 66-68) имеют разную конфигурацию.

Рис. 66. Кормовое крыльевое устройство (вид спереди).

Рис. 67. Кормовое крыльевое устройство (вид сбоку).

Рис. 68. Деталировка крыльев и стоек к рис. 66 и 67.
В нижней части стойки заканчиваются обтекателями, служащими для крепления крыла.
Нижняя часть стоек профилируется и полируется до зеркального блеска. Приливы, расположенные в средней и верхней части стоек, служат для формовки направляющих призм и оснований фиксаторов и крепления подмоторного щита.
С помощью стальных фиксаторов 3 (рис. 67) фиксируется положение крыльевого узла в транцевой рамке, поскольку под действием пружины 7 ось фиксатора 6 заходит в отверстия 8 (рис. 67) на направляющей стойке. Для того чтобы извлечь ось фиксатора из отверстия нужно потянуть за тросик 9 с кольцом 8 на конце.
Стальные поперечные тяги 4 предназначены для устранения люфта в направляющих, резиновые шайбы на тягах — для компенсации возможной непараллельности направляющих 2. Подмоторный щит 5 выполняется из доски твердых пород.
Крыльевой узел в сборе вводится снизу в направляющие транцевой рамки и ставится на фиксаторы в верхние отверстия направляющих, затем с помощью гаек поперечных тяг выбирается люфт в направляющих.
Для снижения трения призм стоек о направляющие к ним следует прикрепить текстолитовые или фторопластовые прокладки, а направляющие и фиксаторы необходимо часто смазывать.
После сборки нижние концы направляющих перекрываются пластинами 9 (на рис. 65) с резиновыми демпферами, предохраняющими крыльевой узел от выпадения из направляющих.
Подмоторный щит устанавливается на стойках таким образом, чтобы антикавитационная пластина подвешенного мотора находилась на одном уровне с крылом и на расстоянии не менее 50 мм от задней кромки крыла.
В направляющих стойках транцевой рамки через втулки фиксаторов высверливают нижние и верхние отверстия для осей фиксаторов. Нижние отверстия используются в рабочем положении крыла, верхние — при поднятом крыле. Опущенное крыло находится на 160 мм ниже киля лодки, а в положении "убрано" крыло поднимается на 15 мм выше киля и полностью скрывается за транцем. В результате величина хода узла по направляющим, а, следовательно, и расстояние между отверстиями для фиксаторов в направляющих, составляет 175 мм.
Опускание кормового крыла в рабочее положение производится в следующем порядке:
- встать лицом к мотору, просунуть указательные пальцы обеих рук в кольца привода фиксаторов и ухватиться за верхнюю поперечную тягу у стоек;
- слегка приподнимая весь узел вверх, потянуть кольца; фиксаторы должны легко выйти из зацепления;
- плавно опускать вниз весь крыльевой узел, отпустив кольца, пока фиксаторы не защелкнутся в нижних отверстиях направляющих;
- проверить надежность фиксации узла.
Если фиксаторы вошли в отверстия направляющих не полностью, то необходимо дернуть за тягу несколько раз вверх.






