Приводим одну из удачных конструкций однокрылых устройств для мотолодки "Прогресс" (разработка В. Крикунова). Данная система отличается небольшим весом и возможностью подъема на палубу с поворотом относительно оси подвески и размещения у лобового стекла (рис. 83).

Рис.
83. Общий вид «Прогресса 2» с поднятым крылом.
Применено малопогруженное подводное крыло с умеренной стреловидностью и килеватостью. Крыло имеет две боковых и центральную стойки, а также снабжено плоским «стартовым» крылом, расположенным выше основного (рис. 84).

Рис.
84. Конструкция крыла.
1 - проушина передней тяги подвески; 2 -
регулируемая тяга; 3 - стартовое крыло; 4 - боковая стойка; 5 - заклепочные
соединения; 6 - центральная стойка.
Профиль основного крыла - сегмент с радиусом 230 мм, хорда - 140 мм и толщина - 10 мм. Материал - прочный алюминиевый сплав В-95. Заготовка обрабатывалась на продольно-строгальном станке с последующей доводкой профиля по шаблону и полировкой. Соединение трех силовых стоек с крылом выполнено на алюминиевых заклепках Ø6. Боковые стойки крыла изготовлены из стальной полосы толщиной 3 мм, а толщина центральной стойки 4 мм.
Стартовое крыло представляет собой дюралевую пластину 160×6 мм размахом 1500 мм с заостренными кромками. Это крыло крепится к стойкам на болтах. Угол между плоскостями стартового и основного крыла составляет 8°.
Крыло соединяется с корпусом в четырех точках посредством шарниров. Основные тяги регулируются по длине и крепятся к боковым Т-образным кронштейнам с помощью быстросъемных штырей. Кронштейны установлены под отбортовкой палубы в районе шп. №2 (рис. 85 и 86).

Рис.
85. Конструкция узла задней подвески
1 - винт М8; 2 - палуба; 3 -
прокладка, сталь; 4 - Т-образный кронштейн; 5 - болт М6; 6 - пластина; 7 - штырь
с язычком; 8 - регулируемая тяга.

Рис.
86. Схема крыльевого устройства.
1 - кронштейн передней тяги подвески; 2
- кривошип; 3 - рычаг поворота оси; 4 - тяга изменения угла атаки; 5 - стопорная
гайка; 6 - винт регулировки угла атаки; 7 - кронштейн; 8 - штурвал управления
углом атаки; 9 - Т-образный кронштейн задней подвески; 10 - плоскость
крыла.
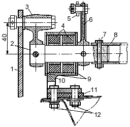
Две наклонные тяги шарнирно крепятся к пальцам кривошипов на поворотной оси, которая может вращаться в резиновых опорах с бронзовыми втулками (деталь 2.229-000 от мотора «Вихрь»). Правая и левая полуоси соединяются между собой трубчатой муфтой 20×2,5 (рис. 87).

Рис.
87. Конструкция узла передней подвески.
1 - наклонная тяга; 2 - ось
кривошипов; 3 - кривошип; 4 - резиновые опоры с бронзовыми втулками; 5 -
регулируемая тяга; 6 - рычаг поворота оси; 7 - болт М6; 8 - соединительная
муфта; 9 - шайба; 10 - кронштейн; 11 - резиновая прокладка; 12 - болты
М8.
На левом кривошипе имеется рычаг поворота оси, изготовленный из шатуна мотора «Вихрь»; к нему подсоединяется тяга механизма управления углом атаки. Резиновые опоры, которые устанавливаются в боковые кронштейны, крепятся к палубе на болтах.
Для того, чтобы поднять крыло на палубу, нужно вытащить штыри из кронштейнов задней подвески. Далее с помощью металлического крюка крыло поворачивают относительно оси передней подвески до уровня палубы или лобового стекла.
Вес крыла без узлов подвески и деталей механизма регулировки угла атаки составляет около 10 кг.
Угол атаки крыла можно регулировать на ходу с помощью небольшого (Ø200 мм) колеса управления. Винт на его валу, вворачиваясь или выворачиваясь из тяги, которая соединена с рычагом на оси поворота крыла, меняет положение кривошипов и, соответственно, передних тяг и величину угла атаки.
Описанная конструкция обеспечивает выход на крыло мотолодки с мотором «Вихрь-30» при водоизмещении 600 кг. Устойчивое движение в крыльевом режиме возможно при высоте волны до 0,5 м. Скорость увеличивается на 20, а экономия топлива - на 15 % по сравнению с плаванием без крыла.






