Данная конструкция съемных подводных крыльев (разработка Д. Мисаряна) предназначена для модернизированного варианта катера "Амур-М". Модернизация заключалась в замене штатного двигателя "М-412" на "ГАЗ-24" мощностью 85 л. с. Кроме этого, на катере была установлена поворотно-откидная колонка "ПОРР-3С" с удлиненным дейдвудом. Редукция колонки 1:1,6; диаметр винта 320, шаг — 480 мм.
Скорость катера с 5 человеками на борту составляет 50-52 км/час при удельном расходе топлива до 14 л/час. Эти параметры и достигаются при "щадящем" режиме: дроссельная заслонка карбюратора открыта на такой угол, когда клапан экономайзера остается закрытым. Такой режим работы двигателя (не более 3600 об/мин) является наиболее экономичным.
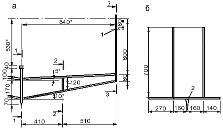
Схема катера с крыльевым устройством показана на рис. 45.

Рис. 45. Схематическое расположение крыльев на катере.
1 -
замок фиксации натяжения тросика; 2 - талреп; 3 - натяжной тросик; 4 - кормовой
стабилизатор; алюминий, ширина 200 мм, δ = 8 мм; 5 - отверстие Ø15; 6 - болт М6,
2 шт. (проходят через транец); предназначены для регулировки угла атаки; 7 -
отверстия для облегчения конструкции Ø30; 8 - паз для фиксации кормового крыла
(КК) с помощью болта М10; размером 60×10; 9 - ось вращения; 10 - накладка из
угольника для передачи усилия на скулу катера, алюминий; 11 - поддерживающий
тросик.
Конструкция носового крыла (НК) заимствована у серийного катера "Стрела"; материал — алюминиевый сплав, хорда профиля 200 мм, толщина 15 мм (рис. 46, 47).

Рис. 46. Конструкция носового (а) и кормового (б) крыльев (правое
зеркально повторяет левое), высота килька 80 мм.
1 - брызгоотбойник,
алюминий, 100×100×2; 2 - киль; 3 - полочка; 4 - отверстие Ø10 для крепления
натяжного троса; 5 - два отверстия Ø10 для фиксации подвески стойки НК на
несущий фланец, имеющий 2 латунных срезных болта М10; 6 - паз 60×10 для фиксации
КК с помощью болта М10; 7 - отверстия для облегчения конструкции Ø30; 8 -
отверстие для оси вращения КК Ø15
(размеры, отмеченные звездочкой,
устанавливаются из-за несимметричности корпуса по месту).

Рис. 47. Деталировка к рис. 46.
Кормовое крыло разрезное - из крыла катера "Стрела", малопогруженное плоское, хорда - 200 мм, толщина - 10 мм. Материал - нержавеющая сталь. Оно имеет съемную конструкцию, которая позволяет регулировать угол атаки крыла.
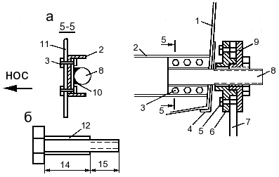
Носовое крыло устанавливается на общей оси вращения, проходящей вдоль носовой переборки. На концевых частях осей, выступающих за борт на 90 мм, нарезана резьба М27. Это позволяет устанавливать на них несущие фланцы, которые имеют по два латунных штифта, предназначенных для фиксации боковых стоек НК. В случае наезда на препятствие штифты легко срезаются (рис. 48).

Рис. 48. Узел крепления оси вращения к борту с фланцами и боковой
стойкой НК; срезаемые латунные болты условно повернуты на 90° (а); ось вращения
КК — болт M10 со срезаемой алюминиевой втулкой Ø15 (б).
1 - борт катера; 2 -
швеллер 1480×100×40×4; 3 - болт М8 для крепления оси вращения и швеллера к
носовой переборке, 6 шт.; 4 - накладка, алюминий; 5 - срезаемые болты М10,
латунь; 6 - несущий фланец, нерж. сталь; 7 - боковая стойка НК; 8 - ось
вращения; 9 - фиксирующий фланец, нерж. сталь; 10 - сварной шов крепления оси
вращения к пластине 80×80×4; 11 - носовая переборка; 12 - срезаемая втулка,
алюминий.
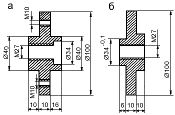
После установки на несущие фланцы стойки крыла поджимаются фиксирующими фланцами (рис. 49).

Рис. 49. Фланцы.
а - несущий фланец; б - фиксирующий
фланец.
Оптимальный угол атаки НК можно с большой точностью установить при помощи прокладок на горизонтальной полочке, которой центральная стойка НК упирается в киль. Там же устанавливается и протектор.
Фиксированное положение крыла на ходу обеспечивается двумя натяжными тросиками Ø6 мм, укрепленными между центральной стойкой крыла и носовым рымом. На практике требуются всего два положения угла атаки НК - для тихой воды и для волнения. Натяжение тросиков можно регулировать с помощью редуктора или талрепами с защелками. Подъем крыла на палубу осуществляется с помощью этих же тросиков.
Надежность хода катера на крыльях по волне обеспечивается наклонными стабилизаторами с увеличенным углом атаки.






