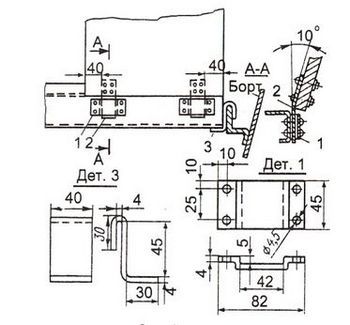
Модернизированные крепления сидений
Сиденья на этой мотолодке не совсем удобны для раскладки в спальные места. Очень сложно это сделать одному, да еще на воде. Несколько простых изменений конструкции креплений позволят преодолеть эти трудности. Заводские крючки, закрепленные двумя винтами сбоку переднего и заднего сидений, следует снять и вместо них поставить четыре опоры 3 (рис. 46), согнутые из полос 4x40x115 мм.
На спинки переднего сиденья необходимо поставить по две полосы 24x40x110 мм, согнутых под углом установки спинок относительно сиденья. На кормовой части каркаса сиденья под полосы спинок следует закрепить четыре гнезда 1, согнутых в виде скоб из полосы 4x45x100 мм или собранных из нескольких деталей. Для установки креплений понадобятся по 16 винтов М4х20 и М4х40.

Рис. 46. Детали крепления сидений.
При установке спинок нужно проследить, чтобы защелки в верхней
части спинок надежно фиксировали их на бортах лодки, иначе вся нагрузка придется
на полосы, которые расшатают тонкий каркас сиденья. Для раскладки сидений в
спальные места сначала следует отключить защелки передних спинок и вынуть их из
гнезд 1, затем открыть шпингалеты обоих сидений и, слегка приподняв
заднюю их часть, снять опоры 3 и положить их в бортовые карманы. Далее
сиденья нужно опустить на елани и сдвинуть их, а спинки уложить в передней части
кокпита наиболее удобным способом.






