Подвесной водомет на базе велодвигателя «Д-5»
Основные узлы двигателя (коленчатый вал, шатун, поршень, гильза цилиндра, магнето и карбюратор) в этой конструкции были применены без изменения (рис. 76). Подробнее...
Бортовой водомёт
Бортовой мотор с водометным движителем конструкции Н. Иванова построен на базе велодвигателя «Д-5», от которого использованы поршень и шатун с нижним роликовым подшипником. Коленчатый вал, цилиндр и картер изготовляются заново. Кроме этого необходимо изготовить кольца с упорным буртиком под манжеты коленчатого вала, так как серийные кольца для «Д-5» изготовлялись без буртика и во время работы двигателя манжеты выскакивают.
Фазы распределения выхлопа и продувки остаются прежними. Впуск смеси осуществляется через пластинчатый клапан. Карбюратор лучше использовать от велодвигателя «MAW», дополнительно в него встраивается ручная регулировка проходного сечения жиклера при помощи иглы. Подача топлива производится самотеком по резиновому шлангу с наконечником, имеющим шариковый запорный клапан. Маховик и магнето можно использовать от мопеда. Охлаждение двигателя водяное с подачей воды из водомета по трубке 8 (рис. 79).

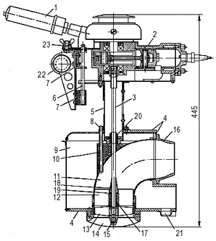
Рис. 79. Схема бортового водомета
Слив воды производится в систему выхлопа для охлаждения дейдвудной трубы и уменьшения шума. Для контроля за работой системы охлаждения в головке цилиндра сверлится отверстие. Система работает надежно, начиная с оборотов холостого хода (около 500 об/мин).
При малых скоростях движения (примерно до 10 км/час), на которые и рассчитаны обводы байдарки, для получения приемлемого к. п. д. водометного движителя необходимо обеспечить возможно больший расход воды при малой скорости, выхода ее из сопла. Использование в таких условиях центробежного насоса, дающего, наоборот, большой напор при малом расходе, нецелесообразно. Поэтому, в данном варианте был применен наиболее простой по конструкции осевой насос с вертикальным валом 3, при помощи квадратного хвостовика непосредственно соединенного с вертикальным коленчатым валом двигателя 2.
Рабочее колесо 13 — четырехлопастное, диаметром 83 мм. Спрямляющий аппарат 12 имеет 6 лопаток. Диаметр выходного отверстия 16 составляет 63 мм. Вал 3 диаметром 8 мм имеет две опоры, нижняя опора выполнена в ступице спрямляющего аппарата и представляет собой текстолитовую втулку 17, в которой вращается бронзовая втулка 18, напрессованная на вал 3. Смазка осуществляется водой, поступающей в две канавки, прорезанные вдоль оси в текстолитовой втулке.
Осевые нагрузки воспринимает подпятник 19 в виде текстолитовой шайбы, по которой вращается буртик втулки 18 (смазка водой). Верхней опорой служит соединение с коленчатым валом двигателя. На нижний конец вала навинчен обтекатель 15. Дейдвудная труба 5 согнута из дюралюминия толщиной 1 мм. Уплотнение трубы осуществляется текстолитовой втулкой 20, имеющей возможность радиального смещения (от вращения втулку стопорит штифт, входящий в паз). В ней вращается бронзовая втулка, насаженная на вал 3. Небольшая утечка воды через это уплотнение не имеет значения.
Труба водовода 11 делается из двух половинок, выштампованных из дюралюминия толщиной 1 мм, и соединенных заклепками. Для уменьшения сопротивления водовод закрыт обтекателем 9 из дюралюминия толщиной 0,8 мм, собранным на несущем «каркасе» из дюралевых пластин 4 толщиной 8 мм. Непосредственно на водовод уложен сухарь-заполнитель 10. Пространство между водоводом и обтекателем служит ресивером выхлопа и имеет 2 канала 21 для отвода отработавших газов под воду. Заборный патрубок водомета защищен литой решеткой 14 из четырех продольных пластин.
Нижняя точка водозаборника расположена примерно на 40 мм выше нижней точки днища байдарки. Подвешивание мотора к трубе-поперечине 22 выполнено на амортизаторах 7 из прорезиненной ткани толщиной 10 мм. К узлу подвески мотор крепится вертикальной осью поворота 6, причем имеется устройство 23 для фиксирования оптимального угла между направлением тяги мотора и ДП байдарки. Мотор снабжается съемным румпелем 1 с мотоциклетной ручкой газа и выключателем зажигания. Управлением поворотом байдарки осуществляется при помощи обычного руля за кормой.
Мотор и топливный бак устанавливаются сразу за кокпитом на разборной раме из двух продольных дюралюминиевых угольников и поперечной трубы 22. Угольники крепятся к фальшбортам четырьмя болтами М6 с барашками. Мотор висит на трубе и стопорится защелкой. Для восприятия вращающего момента от силы тяги мотора на трубе сделан специальный упор. Топливный бак емкостью 5 литров расположен на трубе-поперечине, но на противоположном ее конце.
При ходе на веслах мотор разворачивается под углом 45° и в таком положении стопорится собачкой на пружине, имеющей привод от ручки газа. В этом положении мотор полностью выходит из воды и нисколько не мешает грести веслом. Собачка открывается при повороте ручки до упора на полный газ. Таким образом, все операции с мотором, кроме запуска, осуществляются одной рукой. При транспортировке рама в разобранном виде укладывается в мешок вместе с набором байдарки. От мотора отсоединяется узел подвески, для чего надо открыть защелку и выдернуть шкворень — ось 6. Затем снимается румпель и вывертывается свеча. В таком виде мотор весит 5,5 кг.
Трехместная байдарка «Салют» с тремя человеками на борту развивает с таким мотором скорость около 9,5 км/час.






