Электрооборудование двигателя
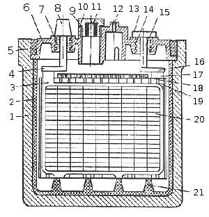
Изучение электрооборудования и системы зажигания четырехтактного двигателя начнем с устройства свинцовой кислотной аккумуляторной батареи и рассмотрим его более подробно, поскольку она. на практике, является основным источником электропитания потребителей в большинстве маломерных судов, независимо от наличия на них двигателя внутреннего сгорания (рис. 94).

Рис. 94. Свинцовый аккумулятор: 1 - бак; 2 - кислотостойкая вставка; 3 и 17 - ушки пластин; 4 и 16 - баретки; 5 - мастика; 6 - крышка; 7 и 14 - свинцовые втулки; 8 и 15 - выводные штыри; 9 - резиновая прокладка; 10 - пробка; 11 - резиновая втулка; 12 - газоотводное отверстие; 13 - межэлементное соединение; 18 - предохранительный щиток; 19 - сепаратор; 20 - пластина; 21 - ребро бака
Бак батареи аккумуляторов изготовлен из эбонита, полиэтилена или ппастмассы. Внутрь бае запрессованы кислотостойкие вставки, а на дне сделаны ребра, на которые опираются полубя ки положительных и отрицательных пластин, которые затем собирают в блоки (рис. 95).

Рис. 95. Детали аккумулятора: а - решетка пластины; б - полублок; в - блок пластин с сепараторами; г - сепаратор
Расстояния между полублоками положительных и отрицательных пластин заполняют сепараторами для предотвращения соприкосновения. Материалом для сепараторов сейчас вместо дерева избирают микропористую пластмассу (мипласт), микропористый эбонит (мипор), пенопласт, стекловойлок и др. Над сепараторами устанавливается тонкий перфорированный предохранительный щиток из кислотостойкого материала (хлорвинила, винипласта) для защиты от механичесщ повреждений при работах с батареей. Блок разноименных пластин с сепараторами устанавливается внутрь каждого отсека бака. Решетки пластин отливают из сплава, содержащего 92-94% свинца, 6-7% сурьмы и 0,2-0,3% мышьяка. Для увеличения ёмкости аккумулятора в ячейки решёток вмазывают активную массу, обладающую крупной пористостью и изготовленную по специальному рецепту отдельно для отрицательных и положительных пластин. Следует заметить, что эта рецептура постоянно совершенствуется в направлении повышения емкости, прочности и долговечности пластин. Пластины с активной массой помещают в баки с электролитом, который состоит из раствора серной кислоты в дистиллированной воде. Не вдаваясь в подробности химических процессов в аккумуляторной батарее, необходимо пояснить, что плотность электролита (измеряется денсиметром или плотномером) является одним из основных показателей состояния (разряжен или заряжен) аккумулятора.
При разряде аккумулятора плотность электролита падает, т.к. серная кислота уходит на образование сернокислого свинца при одновременном выделении воды. В заряженных аккумуляторах плотность электролита по банкам, приведенная к 15 °С, не должна отличаться более, чем на 0,01 и не должна превышать 1.27 в течение всего года для районов с температурой зимой до минус 30ºС и 1,25 - для южных районов. Чем выше плотность электролита, тем ниже температура его замерзания, это важно знать, чтобы не разморозить батарею - имея плотность 1.29 электрот замерзает при температуре ориентировочно но минус 70 °С, а при плотности 1,11 - при минус 7°С. Существует несколько методов заряда АБ - ускоренный заряд при постоянстве напряжения, заряд пр постоянной силе тока до 100 А и т.д.
Здесь мы рассмотрим только первый способ, т.к. он имеет, на наш взгляд, ряд неоспоримых преимуществ: короткое время заряда - в течение первых 4-5 часов батарея заряжается на 91 95% из-за большой величины зарядного тока в этот период; по мере заряда батареи сила тока автоматически (не требуется регулировочных реостатов) уменьшается, не вызывая перезаряда и, тем самым, разрушения активной массы пластин. Кстати, этот метод применяется на автомобильных двигателях. Для зарядки батарея, с предварительно открытыми пробками банок аккуц ляторов и установленным необходимым уровнем электролита, подключается к источнику постоянного тока (зарядному устройству) с напряжением 12-14 вольт. Проверка уровня электролита (рис. 96) производится стеклянной трубочкой длиной 100-150 мм, диаметром 4-6 мм, который следует опустить в бак до упора в пластины, затем, зажав верхнее отверстие, вынуть и убедиться что уровень электролита 10-15 мм.

Рис. 96. Проверка уровня и плотности
электролита в батарее:
а - проверка уровня электролита с помощью
стеклянной трубки; б - замер плотности электролита денсиметром.
При отсутствии стеклянной трубки эту операцию можно сделать чистой деревянной палочкой, но никак не металлическими предметами (проволокой, щупом и т.п.). В процессе зарядки необходимо следить за температурой электролита, плотности электролита и напряжением на клеммах аккумуляторов. По окончании зарядки, свидетельства чего является достижение номинального напряжения и прекращение повышения плотности эле тролита, батарею необходимо отключить от источника питания, ибо в дальнейшем будет прок ходить только разложение воды на кислород и водород. Основной характеристикой АБ служите емкость (Qном) - количество электричества, выраженное в ампер-часах, которое отдав полностью заряженный аккумулятор при непрерывном разряде постоянной силой тока до определенного конечного напряжения (1,7 В на отстающем аккумуляторе батареи при средней температуре электролита 30 °С и начальной плотности 1,285). При повседневной эксплуатации АБ ее разрядная ёмкость зависит, в основном, от таких факторов, как: масса и пористость актив массы пластин, сила разрядного тока, температура и плотность электролита.
К основным неисправностям АБ относятся:
-
саморазряд, когда аккумулятор разряжается даже без нагрузки. Нормальным считав саморазряд для новых АБ - около 1% в сутки. Саморазряд ускоряется при большой загра ненности крышки АБ и электролита, а также при замыкании пластин высыпавшейся активной массой;
-
сульфатация пластин, когда химически активные соединения в пластинах переходят в сульфат свинца, откладывающийся на поверхности активной массы пластин. При длительное хранении разряженного аккумулятора на поверхности и в порах активной массы образутся сплошной слой сульфата свинца, делая АБ практически непригодной к эксплуатации. Существует способ исправления сульфатированных пластин, но надо сказать, что сильно сульфатированные пластины восстановлению не подлежат. В настоящее время, вследстви применения новых материалов баков и сепараторов, а также усовершенствованной активной массы пластин, явление сульфатации при поддержании уровня электролита в норме практически исключено;
-
короткое замыкание разноименных пластин - возникает при разрушении сепараторов, при выпадении из пластин большого количества активной массы (шлама), образовании наростов свинца на решетках отрицательных пластин. В этом случае аккумулятор быстро разряжается, плотность очень мала, пластины сульфатируются. Проверяется наличие такого дефекта замером ЭДС покоя (напряжение батареи без нагрузки) и сравнением с ЭДС. вычисленной по эмпирической формуле: Е = 0.84 + γ, где γ - плотность электролита. При этом, если ЭДС покоя меньше величины Е - имеет место частичное короткое замыкание, если ЭДС покоя равна нулю - пластины замкнуты накоротко полностью. Внезапный отказ АБ связан обычно с коротким замыканием пластин, неисправностью, которая в современных аккумуляторах устранению не поддается.
Аккумуляторные батареи маркируются по типу, материалу бака и материалу сепараторов. В случае длительного перерыва в работе двигателя батарею необходимо отключать от корпуса. Батарею, находящуюся в эксплуатации, лучше хранить в полностью заряженном состоянии в помещении с температурой не ниже минус 30 ºС и не выше 0 °С. доведя уровень электролита в баке до нормы. Поверхность батареи следует насухо протереть, штыри очистить и смазать тонами слоем вазепина. В этих условиях резко уменьшается саморазряд, что способствует увеличению срока службы батареи. При хранении в условиях положительных температур, батарею следует ежемесячно подзаряжать силой тока нормального заряда (0,1Qном).
Новые батареи поступают в продажу как сухозаряженными (без электролита), так залитыми и заряженными При покупке залитых батарей следует, во-первых, обратить внимание на дату производства, во-вторых, проверить тестером ЭДС покоя, которая допжна быть не ниже 12.5 В.
Последнее время судоводители, занимающиеся профессионально оказанием помощи и спасением людей как на внутренних водоемах, так и в прибрежных морских районах все чаще используют необслуживаемые АКБ разпичной емкости, типов и модификаций, в т.ч. АКБ емкостью 56 А/ч при номинальном напряжении 12В. Одним из главных преимуществ этой батареи является устойчивость к ударам, вибрации и сильной тряске, что делает ее практически незаменимой при использовании на спасательных лодках, быстроходных катерах глиссирующего типа, на подводных крыльях (воздушной подушке) и гидроциклах, которые эксплуатируются на больших скоростях либо при сильном волнении, испытывая при этом большие ударные нагрузки. В отличии от АБ. устройство которых рассмотрено ранее, в этих АКБ секции представляют собой свитые в тугой рулон пластины из чистого свинца с проложенным между ними сепаратором из пористого стекловолокна, в котором в абсорбированном виде помещен электролит. Батарея заключена в водонепроницаемый пластмассовый корпус с предохранительными клапанами, имеет дополнительные защитные диски. Батарея, несомненно, выигрывает за счет почти вдвое меньшего веса, компактности, безопасности (не требует работ с электролитом), стойкости к ударным нагрузкам (что на катерах встречается гораздо чаще, чем на автомобилях). По отзывам судоводителей, срок службы этих батарей за счет технологии их изготовления в 2-3 раза больше, чем обычных АБ. В заключение - один совет: судоводителям, использующих большое количество потребителей (мощная аудио-видеоаппаратура, дополнительные обогреватели и т.п.): при наличии двигателя на борту рекомендуется приобретать не аккумулятор большой емкости, а генератор соответствующей мощности.






