Генератор
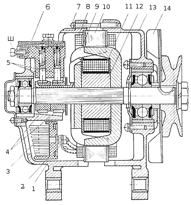
Генератор с электромагнитным возбуждением и кремниевыми диодами (рис. 97), рованными в выпрямительном блоке генератора. Между двумя алюминиевыми крышками с помощью стяжных винтов 7 закреплен сердечник 10 статора, являющийся магнитопроводом.

Рис. 97. Общий вид генератора в разрезе
Сердечник для уменьшения нагрева вихревыми токам набран из тонких стальных пластин рованных друг от друга лаком. Внутренняя поверхность статора имеет 18 зубцов, на которые нанизаны 18 катушек обмотки 8 статора. Катушки распределены на три фазы и включены п схеме "звезда". В каждой фазе включено по шесть последовательно соединенных катушек. Концы катушек фаз присоединены к трем зажимам 2 блока кремниевых диодов выпрямитепя 3 период работы генератора в катушках обмотки статора индуктируется ЭДС . вследствие чего обмотке возбуждения и в цепи включенных потребителей протекает ток. Ротор состоит из стальных шестиполюсных наконечников 9. изготовленных из мягкой стали. Наконечники половины ротора с северной полярностью входят между наконечниками другой половины ротора с южной магнитной полярностью. Ротор вращается в двух шариковых подшипниках, устано»; ленных в отверстиях крышек. Катушка обмотки 11 возбуждения нанизана на стальную втулку расположенную между полюсными наконечниками. Оба конца обмотки припаяны к двум мед ным контактным кольцам 4, установленным на изоляционные втулки. Две графитовые щетки генератора установлены в щеткодержателе 6 и прижимаются к контактным кольцам пружинами. Изолированная от корпуса щетка соединена проводником с зажимом Ш, другая - с корпуса генератора. Полюсные наконечники 9, втулка 12 и изоляционные втулки контактных колец 4 непрессованы на рифленую поверхность вала ротора. Крышки 1 и 13 генератора имеют про для вентиляции, создаваемой крыльчаткой 14 шкива. На крышке 1 установлены зажим «-» (минус), являющийся винтом, ввернутым в крышку, и изолированный от массы зажим " + " (плюс). Болт 10 зажима" +" (плюс) соединен с контактной пластиной 16 положительных зажимов трех диодов прямой проводимости. Болт 2 замыкает а корпус контактную пластину 15 отрицательных зажимов трех диодов обратной проводимости. Кремниевые диоды по сравнению с селеновыми обладают большей механической и электрической прочностью, имеют больший срок службы, допускают вдвое больший нагрев, выдерживают в 10 раз большее (до 150 В) напряжение пробоя и имеют малые размеры. При неработающем генераторе диоды выпрямителя пропускают через себя обратный ток (разрядный ток батареи) малой силы, поэтому отпадает необходимость в реле обратного тока. Электрическая схема некоторых генераторов показана на рис. 98.

Рис.98. Электрическая схема некоторых
генераторов
1 — алюминиевая крышка; 2 и 10 - контактные болты; 3 и 6 -
контактные пластины; 4 - зажим блока кремниевых диодов; 5 - блок
выпрямителей; 7-контактные кольца; 8 - щетки; 9 - щеткодержатель; 11 - обмотка
возбуждения;12 - обмотка статора
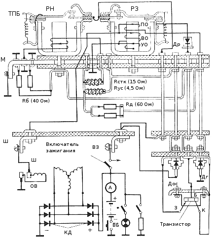
Генератор - узел долговечный, выходит из строя редко. Основные неисправности генераторов переменного тока: повреждение под шипника ротора, пробой диодов, нарушение контакта в щеточном узле, обрыв обмотки возбуждения, межвитковое замыкание в катушке обмотки возбуждения, замыкание обмотки возбуждения на корпус, обрыв в цепи фазовой обмотки статора, замыкание обмотки статора на корпус. Для поддержания напряжения, вырабатываемого генератором, в допустимых пределах применяются реле-регуляторы различных типов, наименований, конструкции и принципа действия. Существенным недостатком обычных вибрационных контактных регуляторов являлось сильное окисление контактов и межконтактный перенос металла из-за мощного искрообразования при размыкании, что, в свою очередь, приводило к уменьшению напряжения и мощности генератора. В контактно - транзисторном реле-регуляторе РР 362, предусмотренном для работы с модификациями генератора Г-250, ток возбуждения генератора замыкается не через контакты регулятора напряжения, а через транзистор, что исключает указанные выше недостатки. Приведённая схема (рис.99) позволяет проследить прохождение тока и работу реле-ругялятора. Ток обмотки возбуждения создаёт стльное магнитное поле ротора и при его вращении в обмотках статора индуктируется большая ЭДС, вызывая озбуждние генератора до рабочего напряжения даже при работе двигателя на оборотах холостого хода и обеспечивая тем самым, заряд АБ. С увеличением напряжения генератора усиливается намагничивание сердечника и, при достижении генератором напряжения 13,0-15.5 В, якорь притянется к сердечнику и контакты замкнутся.

Рис.99. Схема контатно-транзисторного реле-регулятора РР362
В момент замыкания контактов произойдет запирание транзистора, поскольку контакты одновременно соединят базу транзистора с положительными зажимами выпрямителя и АБ через проводники, ярмо, якорек, контакты и зажимы ВЗ. Тут же в цепь обмотки возбуждения генератора включаются добавочный Rд и ускоряющий резисторы, сила тока возбуждения и. соответственно, напряжение генератора уменьшится до регулируемой величины. При понижении напряжения генератора уменьшается сила тока в обмотке регулятора, намагничивание сердечника ослабевает и под действием пружины якорька произойдет размыкание контактов. Сразу откроется транзистор, что вызовет увеличение силы тока в обмотке возбуждения и напряжение генератора снова увеличится. Контакты регулятора напряжения снова замкнутся Следует отметить, что в момент замыкания контактов произойдет резкое уменьшение силы тока в цепи возбуждения генератора и в обмотке возбуждения будет индуктироваться ЭДС самоиндукции, направление которой будет совпадать с направлением основного тока, что может вызвать пробой транзистора. Для избежания этого в цепь включен гасящий диод Д1, который вместе с обмоткой ПО реле защиты составляет контур гашения ЭДС самоиндукции. Встроенное реле защиты служит для автоматической защиты транзистора реле-регулятора от большой силы тока при замыкании зажимов Ш цепи обмотки возбуждения на корпус.






