Система питания двигателя
Подачу топлива к цилиндрам, подготовку и подачу горючей смеси в них в необходимых пропорциях и количестве обеспечивает система питания двигателя. В систему питания ДВС входят: карбюратор, топливный насос, фильтры, топливопроводы и указатель количества топлива.
Устройство и принцип действия двух первых основных приборов системы далее рассмотрим. При пуске холодного двигателя смесь должна быт» очень богатой (отношение воздуха и бензина 3:1), что облегчает пуск, но одновременно способствует чрезмерному износ) деталей, поскольку бензин обильно оседает на стенках цилиндров, смывает с них масляную пленку и разжижает мает в картере. При малой частоте вращения (режим холостого хода) в цилиндрах остается много отработанных газов (до 50%), что препятствует горению свежей смеси, вызывает пропуски в ее воспламенении, приводит к неустойчивости в работе и остановке двигателя. В этих условиях смесь должна быть гащенной (соотношение 9:1) чтобы смешиваться с отработанными газами и сгорать полностью. При малых и средних нагрузках, смесь должна постепенно обедняться (до соотношения 16,5:1), потому что тольков этом случае обеспечивается наибольшая экономичность работы двигателя. При полной нагрузке, когда от двигателя требуется максимальная мощность, горючая смесь обогащается до мае-ностного состава (13.5:1). именно такое соотношение является оптимальным, смесь сгорает полностью, двигатель развивает наибольшую мощность. Главным прибором в системе питания двигателя, который выполняет задачу приготовления горючей смеси разного состава из топлива и воздуха для сгорания в цилиндрах и обеспечивав его работу на перечисленных режимах является карбюратор.
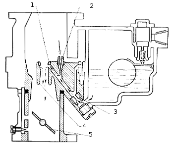
Принцип действия карбюратора иллюстрирует его простейшая схема (рис. 86).

Рис. 86. Простейший карбюратор. 1 - поплавок; 2 - игольчатый клапан; 3 - ось поплавка; 4 - жиклер; 5 - распылитель; 6 - дроссельная заслонка; 7 - диффузор; 8 - смесительная камера; 9 - поплавковая камера.
В поплавковой камере карбюратора поддерживается постоянный уровень топлива с помощью поплавка и связа» ного с ним игольчатого клапана, перекрывающего доступ топлива в камеру при отрегупированков уровне. Поплавковая камера соединена каналом с распылителем смесительной камеры. На такте впуска двигатель работает по принципу воздушного насоса, засасывая воздух черв впускной трубопровод в смесительную камеру. Поскольку в смесительной камере благодаря воздушному потоку давление понижено, а в поплавковой камере поддерживается атмосферное (есть специальное отверстие, сообщающееся с атмосферой) - топливо фонтанирует из распылителя. Поток воздуха распыляет вытекающее топливо и перемешивает его, образуя горючую смесь Выше скорость воздуха - сильнее разрежение, поэтому распылитель помещают в трубу специального профиля, называемую диффузором, где поток воздуха приобретает наибольшую скорость Количество бензина, проходящего через распылитель, регулируется калиброванный: верстием, называемым жиклером . а количество горючей смеси, поступающей в цилиндр -. сельной заслонкой, смонтированной на выходе смесительной камеры. Приготовленная карбюратором по заказу судоводителя смесь через впускной коллектор поступает в цилиндр, чем обеспечивается заданный режим работы двигателя. Именно он в первом случае готовит очень богатую смесь прикрытием воздушной заслонки пускового устройства (рис 87 б).

Рис. 87.
а) Система холостого хода: 1 -
регулировочный винт; 2 - отверстия канала холостого хода; 3 - каналы; 4 -
воздушный жиклер; 5 - жиклер холостого хода.
б) Пусковое устройство
карбюратора: 1 - воздушная заслонка; 2 - автоматический клапан с пружиной.а
Горючая смесь, обеспечивающая устойчивую работу двигателя в режиме холостого хода готовится системой холостого хода карбюратора (рис. 87 а). Постепенное и плавное обеднение горючей смеси при открытии дросселя обеспечивается работой главной дозирующей системы карбюратора (рис. 88).

Рис. 88. Гравная дозирующая система с пневматическим торможением топлива: 1 - распылитель; 2 - воздушный жиклер; 3 - топливный жиклер; 4 - диффузор постоянного сечения; 5 — дроссель.
Работа двигателя при полной нагрузке (полном открытии дросселя и развитии максимальной мощности) обеспечивается работой экономайзера (рис. 89 а) совместно с главной дозирующей системой. При резком открытии дросселя мощность и частота вращения коленчатого вала двигателя должны быстро возрасти (свойство, характеризующее приемистость двигателя), что обеспечивается вспрыском дополнительной порции бензина в смесительную камеру карбюратора насосом - ускорителем (рис. 89 6). Работа перечисленных основных конструктивных узлов карбюратора настолько ясна из приведенных иллюстраций, что в дополнительном пояснении, на наш взгляд, не нуждается Несомненно, карбюратор, установленный на двигателях современных катеров представляет из себя гораздо более сложную конструкцию, нежели рассмотренный нами выше, в чем можно убедиться при рассмотрении принципиальной схемы карбюратора К126Н. устанавливаемого на двигателях М-412.

Рис. 89.
а) Экономайзер с механическим
приводом: 1 - распылитель главной дозирующей системы; 2 - шток; 3 - тяга; 4 -
клапан; 5 - серьга: 6 - пружина; 7 - жиклер экономайзера; 8 - главный жиклер; 9
- рычаг.
б) Насос - ускоритель: 1 - нагнетательный клапан; 2 - распылитель
насоса-ускорителя; 3 - колодец; 4 - шток; 5 - планка; 6 - пружина; 7 - обратный
клапан; 8 - тяга; 9 - рычаг; 10 - поршень.
Карбюратор двухкамерный, вертикальный, с падающим потоком смеси и двухступенчатым распылением топлива. Общие узлы - это входной патрубок с воздушной заслонкой и поплавковая камера. Необходимый состав горючей смеси для эффективной работы двигателя на всех режимах обеспечивается: в первичной камере главной дозирующей системой и другими, перечисленными выше системами (холостого хода, экономайзером, ускорительным насосом, во вторичной камере - главной дозирующей системой, вспомогательной системой и системой эконостата). Вспомогательная система вторичной камеры аналогична системе холостого хода в первичной и служит для подачи топлива при малой степени открытия дроссельной заслонки камеры в то время, когда разрежение в диффузоре недостаточно для включения в работу смонтированного в ней распылителя главной дозирующей системы. Система эконостата служит для обеспечения необходимого обогащения смеси во время работы двигателя с полной нагрузкой при средней и большой частоте вращения коленчатого вала. Главные воздушные каналы обеих камер в карбюраторе выполнены однотипно и начинаются общим входным воздушным патрубком с воздушной заслонкой, имеющей два предохранительных клапана.В каждой смесительной камере по два диффузора - большой и малый. Большие диффузоры снимаются вместе с верхней крышкой карбюратора, малые запрессованы в средней части корпуса карбюратора. Главные дозирующие системы обеих камер состоят из главных и воздушных жиклеров, а также в них входят эмульсионные труби расположенные в вертикальных колодцах, которые сообщаются с распылителями . встроенный» в малые диффузоры. В систему холостого хода (в первичной камере), как и во вспомогательную систему (во вторичной камере) входят топливный и воздушный жиклеры, сообщающиеся со смесительной камерой. Поплавковая камера при всех режимах работы двигателя, кроме холостое хода, сбалансирована, т.е. верхняя ее полость сообщается с входным воздушным патрубком атмосферой (при переходе в режим холостого хода). Топливо в поплавковую камеру поступ через сетчатый фильтр и калиброванное отверстие в игольчатом клапане, запираемое иглой при наполнении поплавковой камеры до регулируемого уровня.
Из поплавковой камеры топливо проходит через главные жиклеры, заполняя эмульсионные колодцы и каналы жиклеров холостого хода и вспомогательной системы. Первичная камера подает в цилиндры горючую смесь зконимичного состава. В момент пуска двигателя и при его работе на малых оборотах холостого xoда разрежение, создаваемое за дроссельной заслонкой первичной камеры, передается в эмульсионный канал через отверстие канала, проходное сечение которого регулируется винтом состав смеси холостого хода. Под действием этого разрежения бензин через топливный жиклер поднимается вверх и смешивается с воздухом, поступающим через воздушный жиклер - образуется эмульсия, которая, снова перемешиваясь с воздухом из отверстия выше прикрытой дроссельной заслонки, поступает через каналы холостого хода в смесительную камеру и далее - в цилиндр. Необходимый состав горючей смеси в режимах частичных нагрузок обеспечивается совмео ной работой главной дозирующей системы и системы холостого хода. Совместная работа главных дозирующих систем обоих камер и систем экономайзера и эконостата при полном отк дроссельных заслонок обеих смесительных камер обеспечивает подачу в цилиндры горючей для развития двигателем максимальной мощности. Пуск двигателя производится при закрыта воздушной заслонке. Предохранительные клапаны, установленные на ней, не дают остановиться двигателю после того, как он начал работать. Для прогрева двигателя воздушную заслон, следует приоткрыть, по окончании прогрева - полностью открыть.
В последнее время на многих моделях бензиновых ДВС карбюраторы заменяются и инжекторами с системой центрального впрыска топлива или полу-последоватеательной и последова ной системой распределенного впрыска В общем виде, инжекторная система подачи топлива имеет топливоподкачивающий насос, который через фильтр подает топливо к форсункам (давление подачи управляется соответствующим регулятором давления), и электрическую систему управления подачей топлива, состоящую из электронного блока управления и многих датчиков, поставляющих в блок управления информацию о положении дроссельной заслонки (степени ее открытия), о нагрузке двигателя, о частоте вращения и положении коленчатого вала, о температуре двигателя, о температуре воздуха, о содержании кислорода в выхлопных газах, о начале «детонации», и т.д.
Электронный блок, в зависимости от результатов анализа собранной информации, определяет момент подачи топлива, управляя топливной форсункой (изменяя длительность впрыска топлива), и момент зажигания. Этот же блок постоянно корректирует пропорцию смеси, обеспечивая наиболее эффективную работу двигателя на различных режимах. Он же регулирует работу двигателя на холостом ходу. Полупоследовательная и последовательная системы распределенного впрыска отличаются от описанной тем, что в них имеется по 4 форсунки (по одной на цилиндр), которые установлены непосредственно во впускном коллекторе или головке блока цилиндров. Все форсунки питаются от общей топливной магистрали, в которой также имеется регулятор давления топлива.
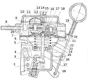
Питание двигателя топливом обеспечивается диафрагменным топливным насосом (рис. 90), приводимым в действие эксцентриком распределительного вала при помощи толкателя. Толкатель, перемещаясь, нажимает на плечо рычага привода насоса, который, поворачиваясь, в свою очередь, другим плечом давит на уступ штока диафрагмы, перемещая его вниз вместе с диафрагмой. В полости над диафрагмой создается разрежение, всасывающий клапан открывается, топливо из бака через отстойник и фильтр заполняет эту полость. При дальнейшем вращении распределительного вала рычаг, оставаясь прижатым к толкателю, освобождает шток диафрагмы, диафрагма под нажимом пружины перемещается в верхнее положение и в полости над диафрагмой создается избыточное давление. При этом всасывающий клапан закрывается, нагнетательный открывается и топливо выталкивается в поплавковую камеру карбюратора до тех пор. пока она не будет "заперта" игольчатым клапаном при ее заг нении до отрегулированного уровня. При этом давление, создаваемое пружиной диафраг уравновесится давлением, оказываемым на игольчатый клапан, диафрагма установится в нем нижнем положении.

Рис. 90. Топливный насос. 1 - пружина рычага привода насоса; 2 - ось рычага привода; 3 - валик ручной подкачки; 4 -рычаг привода насоса; 5 - нижняя часть корпуса; 6 - диафрагма; 7 - средняя часть корпуса; 8 - входной штуцер; 9 -прокладка; 10 - верхняя часть корпуса; 11 - сетчатый фильтр; 12, 17 - пружины клапанов; 18, 16 - корпуса клапанов; 14 - всасывающий клапан; 15 - винт крепления корпуса насоса; 18 - нагнетательный клапан; 19 - пружина тяги ручной подкачки; 20 - тяга; 21 - верхняя шайба диафрагмы; 22 - нижняя шайба диафрагмы; 23 - шайба; 24 - пружина диафрагмы; 25 - опорная тарелка пружины диафрагмы; 26 - уплотнительнь штока диафрагмы; 27 - шток; 28 -рычаг ручной подкачки; 29 - полость отстойника.
В этих условиях рычаг насоса будет двигаться «вхолостую», топливо в карбюратор поступать не будет. С понижением уровня топлива в поплавковой камере топг опять будет поступать в карбюратор.






