Система вентиляции и охлаждения
Система вентиляции картера может быть как открытого типа (сообщение с атмосферой), так и принудительная (отсос газов осуществляется во впускной трубопровод двигателя). Водомасляный радиатор изготовлен в одном корпусе с водоводяным и вкупе они представляют агрегат, состоящий из двух корпусов, со смонтированными в них трубчатыми секциями, через которые прогоняется забортная вода Контроль за давлением масла в системе осуществляется с помощью датчика и соответствующего указателя на щитке приборов.
Система охлаждения служит для поддержания оптимального теплового режима работы двигателя, который при полной нагрузке находится в пределах 85-95 °С. Система заполняется пресной (жепательно мягкой) водой или антифризом (смесь воды с этиленгликолем и добавлением антикорозионной присадки). Антифризы у нас выпускаются двух фиксированных марок 40 и 65 (цифры обозначают Т °С замерзания) Принципиальная схема охлаждения четырехтактного двигателя показана на рис. 91.

Рис. 91. Система охлаждения двигателя 1 - насос забортной воды; 2 - водомасляный радиатор; 3 -водоводяной радиатор; 4 - расширительный бачок; 5 -термостат; 6 - насос циркуляционной воды; 7 - труба водяная забортной воды; 8 - вход масла; 9 - выход масла; 10 - выход забортной воды; 11 - вход воды на охлаждение реверс-редуктора.
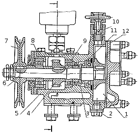
Охлаждение двигателя в современных двигателях, как правило, принудительное от водяного насоса (помпы), который нагнетает охлаждающую жидкость через продольный канал и вертикальные отверстия, выполненные в блоке со стороны выпускного трубопровода в рубашку головки блока, омывая в первую очередь наиболее нагретые места: стенки камер сгорания, направляющие втулки и седла клапанов. Протекая дальше через рубашку головки к впускному трубопроводу, жидкость омывает выпускные каналы и выходит через отверстие на боковой поверхности головки в корпус для термостата, далее через отводящий патрубок снова в водоводяной холодильник. Водяной насос центробежного типа, расположен на переднем торце блока цилиндров. Водяные насосы первого (водяная помпа на двигателе) и второго (насос забортной воды) контуров охлаждения двигателя, устроены практически одинаково (рис. 92).

Рис. 92. Насос забортной воды: 1 - крыльчатка; 2 - пробка; 3 - водоотражатель; 4 - шестерни винтовые; 5 -корпус насоса; б - вал; 7 - шкив; 8 - проклдака регулировочная; 9 -шарикоподшипники; 10 - штуцер заливки; 11 -манжета; 12 -крышка.
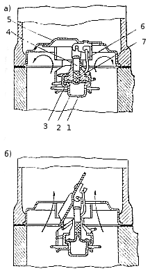
Устойчивый тепловой режим двигателя в указанных пределах автоматически поддерживается термостатом (рис. 93), устанавливаемом на выходе охлаждающей жидкости из рубашки охлаждения головки блока. Они бывают с твердым наполнителем (на большинстве двигателей) и жидкостными. Термостат с твердым наполнителем имеет баллон 1, за полненный церезином (нефтяным ком) 2 и закрытый резиновой диафрагмой 3.

Рис. 93. Термостат с твердым наполнителем: а-клапан термостата закрыт; 6 - клапан термостата открыт
Термостат с жидким наполнителем имеет в своем корпусе гофрированный латунный цилиндр, который заполняется 70% этиловым спиртом, и клапан. Принцип работы того и другого термостатов абсолютно идентичен. На холодном двигателе основной клапан термостата закрыт, перепускной находится в положении при котором внутренняя полость корпуса термостата сообщается с патрубками. При температуре 70-83 ºС наполнитель плавится и, расширяясь перемещает вверх диафрагму 3. буфер шток 4. При этом открывается клапан 5 и охлаждающая жидкость начинает циркулировать по всему контуру. При снижении температуры наполнитель отвердевает, уменьшается в объеме и клапан 5 закрывается под действием возвратной пружены 6 и диафрагма 3 опускается температурный режим двигателя и рабе та системы охлаждения контролируется датчиками в блоке (головке бло ка или ином месте) и сигнальными лампами или указателями на приборном щитке. Предусмотрен слив охлаждающей жидкости системы через краник на левой стороне блока цилиндров. Такие краники могут предусматриваться и в других местах.






