Система зажигания двигателя
Рабочая смесь в камерах сгорания цилиндров карбюраторного двигателя воспламеняется (как упоминалось ранее) от электрического разряда между электродами свечи зажигания. Система зажигания двигателя обеспечивает своевременное надежное воспламенение рабочей смеси в момент пуска двигателя и в процессе его эксплуатации на различных режимах при простоте конструкции, долговечности и небольшой массе узлов и деталей. В систему зажигания входят: источник тока низкого пряжения 12 В (АБ и генератор с реле-регулятором), катушка зажигания (на языке водителей - бобина), прераватель-распределитель (он же - трамблер), свечи зажигания и включатель зажигания, устройство которых мы последовательно и рассмотрим.

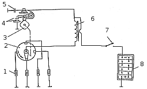
Рис. 101. Схема батарейного зажигания четырехцилиндрового двигателя: 1 - свечи зажигания; 2 - распределитель; 3 - кулачок прерывателя; 4 - контакты прерывателя; 5 - конденсатор; 6 - катушка зажигания; 7 - выключатель ("ключ") зажигания; 8 - аккумуляторная батарея
Катушка зажигания (рис. 102, 103) служит для преобразования тока низкого напряжения (12 В) в ток высокого пряжения (12000 - 30000 В), который необходим для зования искрового разряда между электродами свечей жигания. Все катушки зажигания имеют аналогичную рукцию. различаются обмоточными данными и матер заполнения внутренней полости, поэтому они - наиболее имозаменяемые изделия электрооборудования. Будучи воде, практически Вы можете поставить временно любую отечественную катушку зажигания вместо вышедшей из строя.

Рис. 102. Катушка зажигания.

Рис. 103. Катушки: 1 - сухая, с замкнутым
магнитопроводом
3122.3705: 2 - двухискровая 3009.3705; 3 - Б-117А
Устройство катушки зажигания несложно. Каждая состоит из первичной и вторичной обмотки. Вторичная мотка 13 намотана на втулку из эпектротехнического на и хорошо изолирована сверху несколькими слоями конденсаторной бумаги, лакотканью и кабельной бумагой, что уменьшает в значительной степени возможность ее пробоя. Сердечник и кольцевой магнитопровод 10 изготовлены из листов электротехнической стали. Первичная обмотка 12 намотана поверх вторичной и между каждым рядом обмотки прокладывается w слоев кабельной бумаги. Для предупреждения возможности разряда высокого напряжения на дно корпуса между кожухом катушки и сердечником помещен фарфюровый изолятор. Для улучшения изоляции обе обмотки пропитывают, а все пустоты заливают трансформаторным маслом 11, что, кроме изоляции, способствует теплоотводу на корпус. Герметичность крепления карбо-литовой крышки 2 в кожухе обеспечивается прокладкой из маслобензостойкой резины. Добавочный резистор 16 состоит из проволочной спирали, двух керамических держателей 18, винта и резьбовой втулки 17. Катушку зажигания для контактной системы зажигания с добавочным резистором рекомендуется заменить катушкой Б-117А без оного, но с прерывателем Р-119Б. При этом энергия искрового разряда немного повышается, а энергия, потребляемая системой, снижается вдвое.
Понятие прерыватель - распределитель или распредепитель жигания (трамблер) - объединяет различные по конструкции приборы, назначение которых одно: чить момент искрообразования определенных положениях коленчатого вала. В его состав входят (рис. 105): корпус, прерыватель тока низкого напряжения, распределитель тока высокого напряжения, центробежный и вакуумный регуляторы опережения зажигания (рис. 104. 106), октан-корректор и конденсатор.

Рис. 104. Центробежный регулятор опережения зажигания прерывателей-распределителей Р4-В; Р13-В и др.: а - устройство; б - характеристика регулятора

Рис. 105. Прерыватель-распределитель
Р4-В:
а - продольный разрез; б - вид сверху; 1 - валик; 2 - муфта; 3 -корпус;
4 - втулка; 5 - центробежный регулятор опережения зажигания; 6 - неподвижная
пластина прерывателя; 7 - пружинящая пластина; 8 - фильц; 9 ротор; 10 - крышка
распредели теля; 11 - выводы крышки; 12 уголек (подавительный реэис тор); 13 - -
замочное кольцо; 14 кулачок; 15 - подвижная пластина прерывателя; 16 - шариковый
подшипник; 17 - втулка кулачка; 18 - конденсатор; 19 - масленка; 2 - медный
проводник; 21 - эксцентрик; 22 - рычажок прерывателя; 23 - пластина неподвижного
контакта; 24 - винт крепления пластины неподвижного контакта; 25 - контакты
прерывателя; 26 - фильц; 27 - соединительный проводник; 28 - зажим прерывателя;
29 - гайки октан-корректора; 30 - шкала октан-корректора; 31 - стрелка
октан-корректора; 32 - вакуумный регулятор опережения зажигания.

Рис. 106. Вакуумный регулятор опережения
зажигания:
а-устройство: б - характеристика регулятора.
В чугунном корпусе 3 прерывателя - распределителя запрессована бронзовая втулка 4, в которой вращается валик 1 привода куг ка 14 прерывателя, ротора 9 предепителя и центробежного гулятора опережения зажигания Осевой люфт валика ограничивается муфтой 2. соединенной с ком заклепкой. Смазка валика ществляется колпачковой масленкой 19. К корпусу 3 винтами прикреплена неподвижная пластине прерывателя 6, а подвижная пластина 15 смонтирована на шарм вом подшипнике 16. обеспечивающем легкость ее движения при боте вакуумного регулятора 32. Пластина 23 неподвижного контакта установлена на оси рычажка 22 прерывателя и эксцентриком 21 может поворачиваться вокруг эт оси. Винтом 24 пластина крег к корпусу (к диску). Контакты пользователя сделаны из вольфрама. Текстолистовая столитовая прокладка рычажка прерывателя прикреплена вместе с пружиной к рычажку и изолирует его от корпуса. Конденсатор 18 включен параллельно контактам прерывателя. Зазор между контактами прерывателя 0,4 мм устанавливают смещением пластины 23 неподвижного контакта при помощи эксцентрика 21. Ротор 9 и крышка 1 распределителя изготовлены из специального пресс-порошка. Крышка крепится двумя пружинами 7 к корпусу. В боковые выводы 11 крышки выведены высоковольтные провода от свечей зажигания. К корпусу прерывателя прикреплен вакуумный регулятор 32 опережения зажигания. Свечи зажигания предназначены для непосредственного воспламенения смеси в цилиндре карбюраторного двигателя и представляет из себя неразборное металлокерамическое изделие (рис. 107).

Рис. 107. Свеча зажигания: а - "горячая"; б - "холодная"; в — экранированная
Изолятор 1 в сборе с контактным стержнем и центральным электродом 7 установлен в стальном корпусе 4 и зажат в нем с помощью развальцовки верхней части корпуса. Нижняя часть стального контактного стержня 2 имеет сетчатую накатку для улучшения сцепления с герметизирующим токопроводящим стеклогерметиком 3. Между корпусом и изолятором устанавливают тепло-отводящую шайбу 5, обеспечивающую теплосъем с изолятора с одновременной герметизацией. В некоторых свечах герметичность места соединения изолятора и корпуса обеспечивается тальковым порошком 8. Искровой зазор между электродами свечи в системе транзисторного зажигания устанавливается равным 1,0 - 1,2 мм, при батарейном (обычном) зажигании 0,5 - 0,9 мм (для уверенного пуска двигателя при низких температурах - поменьше, летом - побольше). Уплотнительная прокладка 6 обеспечивает герметизацию цилиндра. При работе свечи зажигания оптимальная температура нижней части изолятора должна быть 500 - 600 °С. Такая температура иначе называется температурой самоочищения свечи, ибо в этих условиях происходит сгорание нагара, откладывающегося на изоляторе. Свидетельством правильного подбора свечи и исправной работы двигателя является светлокоричневая окраска нижней части изолятора. Температура нижней части изолятора менее 500ºС будет причиной интенсивного нагарообразование (что, в свою очередь вызовет утечку тока и перебои в работе двигателя), температура более 700 °С - причина преждевременного воспламенения смеси (появление калильного зажигания).
Маркировка свечей отечественного производства
|
А |
Обозначение резьбы на корпусе А-М14 х 1,25; М-М18 х 1,5 |
|
17 |
Калильное число: реокмендуемый ряд 8; 11; 14; 17; 20; 26 |
|
Д |
Обозначение длины резьбовой части корпуса Н-11мм; Д-19 м |
|
В |
Обознчение выступания теплового конуса изолятора В —
выступает. |
Взаимоменяемость свечей зажигания отечественного производства и некоторых зарубежных фирм
|
Россия |
Beru |
CHAM-PION |
BOSCH |
MARELLI |
KLG |
A |
NGK |
MOOR |
|
М8Т-1 |
18-10 AU |
D16, D21 |
M10AC |
- |
- |
C86 |
- |
BT10 |
|
А11 и |
14-10A |
L15Y |
W10AC, |
CW25N |
F20 |
S45F |
B4H |
- |
|
А13Н |
- |
L90C |
W9ACO |
W3N |
FA50 |
43F |
- |
A-470 |
|
А14В |
14-8В |
L92Y |
W8BC |
F7NC |
F55P |
44FS |
BP4HS |
AE42 |
|
А14D |
14-8С №6 |
N5 |
W8CC |
CW6L |
FE70 |
45XL |
- |
A3 |
|
A17B |
14-7В |
L12Y |
W7BC |
CW6NP |
MT65P |
42-6FS |
BP5HS-10 |
A32 |
|
A17Д |
14-7 С |
N4C |
W7C |
CW6L |
FE75 |
C44XL |
B6S |
AG2,AG21 |
|
А17ДВ |
14-7D |
N10Y |
W7DC |
CW7LP |
FE65P |
42XLS |
BP5ES |
AG22 |
|
А17ДВ-10 |
То же |
N9Y |
То же |
То же C |
FE55P |
То же |
То же |
AG252 |
|
А20-1 |
- |
N7Y |
W6CC |
W7L |
FE80 |
43XL |
B7ES |
AG4 |
|
А23 |
14- AU ,L82C |
L81 |
W5AC,CW8N |
CW7N |
FF80 |
42F,B8HS |
B7HS,AE2C |
AE2 |
|
А26ДВ-1 |
- |
N63Y |
W3DC |
CW9L |
- |
- |
- |
- |
Свечи с большой теплоотдачей условно называют "холодными", с
малой теплоотдачей - "горячими". Тепловая характеристика свечи обозначается
калильным числом, чем больше калильное число, тем лучше отводится тепло нижней
части изолятора. Калильное число горячих свечей соответствует 100-260 единицам,
холодных - 280-500 единицам. Применение отечественных свечей зажигания на
двигателях, маркировка и взаимозаменяемость с некоторыми образцами иностранных
фирм (наиболее популярными "Champion" и "Bosch") приведены в помещенных ниже
таблицах, предоставленных шорам издательством "Полезные страницы". Для
отечественных двигателей судоводителям мы рекомендуем использовать отечественные
свечи зажигания, заменяя их в сроки, предписываемые заводскими инструкциями (на
катерах - через 250-400 часов работы).
Необходимо отметить, что отечественные
свечи по параметрам и ресурсу практически не уступают приведенным выше образцам
иностранных свечей. Появившиеся двух и трехэлектродные свечи не оправдали
ожиданий покупателей, искра все равно была одна, другие электроды просто мешали
нормальному искрообразованию, распространение пламени и охлаждению тепловой
конуса свечи свежей порцией рабо чей смеси
Несколько слов о высоковольтных проводах. Высокогольтные провода, наконечники свечей отечественные, с полихлорвиниловой изоляцией, марки ПВВ, ПВВП постепенно уходят в прошлое. Сейчас рынок завоевывают импортные (в основном - английские), с силиконовой изоляцией провода, которые не дают трещин и не дубеют на морозе.






