Стартер
Стартером (от английского слова start - начинать, пускать в ход) называется устройство для пуска двигателя внутреннего сгорания. По принципу действия они могут быть электрическими, механическими и пневматическими. Кроме того, стартеры классифицируются по принципу действия привода (с механическим или электромагнитным включением и выключением шестерни привода с венчиком маховика), а также по способу управления (непосредственное механическое или дистанционное электромагнитное включение).
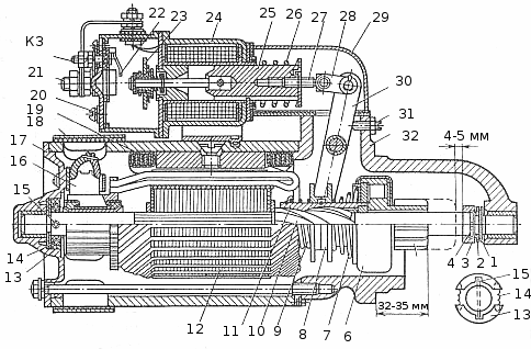
Рассматриваемый нами (рис. 100) стартер СТ-113 (и его модификации), применяется для пуска стационарных двигателей маломерных судов, является че-тырехполюсным электродвигателем, с принудительным электромагнитным включением шестерни привода, с муфтой свободного хода (обеспечивает передачу вращающего момента с вала якоря на маховик, а также предупреждает вращение якоря от маховика после пуска двигателя) и дистанционным управлением. Стартер имеет номинальную мощность 1,4 л.с, тяговое реле типа РС14, питается от АБ напряжением 12 В.

Рис. 100. Стартер СТ-113:
1 -
регулировочные шайбы; 2 - упорная шайба; 3 - упорное кольцо; 4 - замочное
кольцо; 5 - шестерня привода; 6 - муфта свободного хода; 7 - буферная пружина; 8
- поводковая муфта; 9 - пружина; 10 - ленточная нарезка вала; 11 - втулка
привода; 12 - якорь; 13 - колодка тормоза; 14 - пружина тормоза; 15 - шип; 16 -
щетка; 17 - крышка; 18 - защитная лента; 19 - катушка обмотки возбуждения; 20 -
крышка тягового реле; 21 - зажим реле; 22 - контактная пластина зажима КЗ; 23 -
контактный диск; 24 - магнитопровод тягового реле; 26 - возвратная пружина; 27 -
регулировочный винт якорька реле; 28 - соединительное звено; 29 и 32 - крышка;
30 - рычаг привода; 31 - регулировочный винт.
Корпус и полюсные сердечники стартера изготовлены из мягкой стали. Магнитный поток в электродвигателе стартера разветвляется на четыре параллельные ветви, что снижает сопротивление магнитной цепи и увеличивает вращающий момент на валу якоря. Обмотка возбуждения имеет смешанное включение» состоит из трех последовательно включенных между собой катушек 19, намотанных проводя большого сечения, и одной параллельной катушки, выполненной из большого количества витки тонкого изолированного провода. Обмотка якоря 12 выполнена из голого прямоугольного медного провода. В открытых пазах сердечника якоря проводники обмотки изолируют от железа и между собой электроизоляционным картоном. Щетки медно-графито-сеинцовистые с добавлением олова установлены в коробчатом щеткодержателе. Крышки к корпусу крепятся двум болтами. В крышке стартера установлен тормоз, состоящий из двух пластмассовых колодок 11 разжимаемых двумя пружинами 14. При вращении якоря вращаются и колодки за счет шипа 15, который входит в прорези колодок. Тормоз необходим для ограничения частоты вращения яксог на холостом ходу и его быстрой остановки после выключения стартера. Крышка 32 со стороны привода сделана из алюминиевого сплава. Регулировочный винт 31 в крышке служит для установки шестерни 5 привода стартера в исходное положение. Вал якоря вращается в двух скользящих подшипниках из пористой бронзы. На валу якоря 12 выполнена правая четырехходовая ленточная нарезка 10, по которой в момент включения стартера перемещающаяся втулка приезд 11 будет совершать не только поступательное, но и вращательное движение, что облегчает зацепление шестерни привода с венцом маховика. На корпусе стартера смонтировано тягом реле, служащее для принудительного введения шестерни стартера в зацепление с венцом маю вика и для последующего подключения стартера к аккумуляторной батарее напрямую. В электрическую цепь между обмотками тягового реле и АБ может вводится реле включения, котора включает ток в обмотки тягового реле при пуске двигателя и обеспечивает автоматическое выключение стартера при работающем двигателе.
Цепь обмотки реле включения замыкается включателем зажигания (ключом). После пуска двигателя усилием возвратной пружины ключа апактрн юская цепь стартера размыкается. В случае, когда реле включения не устанавливается, цепь обмоток тягового реле замыкают с АБ включателем зажигания. Устройство и работа тягового реле понятны из рисунка при прохождении тока магнитные потоки втягивающей и уаерживающей обмоток обеспечивают втягивание якорька, перемещающего контактный диск в сторону главных зажинов, и одновременно при перемещении рычага привода происходит зацепление шестерни стартера с зубчатым венцом маховика. При размыкании цепи тягового реле с АБ под действием возвратной пружины шестерня стартера выходит из зацепления с зубчатым венцом маховика, аонтажтный диск выключает рабочую цепь стартера, пружиной якорек и все детали привода стартера возвращаются в исходное положение.
Признаки и возможные основные неисправности стартера:
-
стартер не включается: из-за состояния АБ, ее клемм, окисления наконечников проводов в цепи стартера, нарушение цепи обмотки возбуждения, окисления контактов и дисков тягового реле, состояния коллектора, износа или зависания щеток, обрыва втягивающей обмотки;
-
уменьшение мощности и частоты вращения якоря происходит по перечисленным ранее причинам, касающимся состояния АБ, наконечников проводов и щеток и, кроме того, из-за замыкания между собой пластин коллектора, замыкания щеткодержателя на корпус, заедания вала якоря в подшипниках;
-
включение стартера сопровождается ударами шестерни стартера о маховик, как правило, при разряженной АБ или при обрыве удерживающей обмотки тягового реле;
-
заклинивание шестерни стартера в венце маховика вызывается погнутостью вала якоря, перекосом корпуса стартера (проверить его крепление);
-
пробуксовка муфты свободного хода возможна из-за сильного износа роликов и заедания плунжеров в обойме муфты, при этом якорь не проворачивает коленчатый вал двигателя.
В заключение темы необходимо отметить, что стартеры относятся к наиболее дорогостоящим узлам электрооборудования. Следует иметь ввиду, что некоторые стартеры (как правило, иностранных фирм) не ремонтируются и. в случав выхода из строя, подлежат замене.






