Определение места судна по расстояниям
Определение расстояния. Расстояние до ориентира определяется с помощью дальномера, бинокля с сеткой, либо по вертикальному углу, измеренному с помощью секстана. На судах, оборудованных радиолокационными станциями, расстояния определяются с помощью этих РЛС.
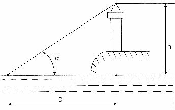
Расстояние по вертикальному углу определяется при известной
высоте (h) ориентира либо над уровнем моря, либо над основанием. В первом случае
угол измеряется между вершиной ориентира и урезом воды у берега (рис.
217), во втором - между вершиной и основанием ориентира. Второй метод
практически не применяется, т.к. высота маяков указывается на навигационных
картах и в пособиях, как правило, над уровнем моря. Измерив вертикальный угол а
и зная высоту ориентира h, расстояние D до ориентира с достаточной точностью (в
милях) рассчитывается по приближенной формуле:
Пример: Высота маяка над уровнем моря h = 60 м.
Измеренный секстаном вертикальный угол αс = = 0°14',2. Поправка индекса
у секстана i = + 0'5, а его инструментальная поправка S = + 0,3. Требуется
определить расстояние до маяка.
Решение:
α = αс + (i + S) = 0°14',2 +
(0',5 + 0',3) = 0°15',0

Определение места судна по двум расстояниям. Принцип этого способа состоит в том, чтобы с помощью РЛС или дальномера одновременно измерить расстояния до двух нанесенных на карту ориентиров, либо с использованием секстана измерить вертикальные углы этих ориентиров и рассчитать расстояния. Место судна получается в пересечении двух линий положения, которые в данном случае являются окружностями. Центрами окружностей служат ориентиры, а радиусами - измеренные (рассчитанные) расстояния до этих ориентиров.
Пример: Измеренное (рассчитанное) расстояние до маяка А (рис. 218) составило DA = 5,2 мили, а до маяка В - DB = 3,5 м. Нанести на карте обсервованное место судна.
Решение: Циркулем на карте (в районе широты плавания)
снимается расстояние, равное 5,2 м, затем ножка (иголка) циркуля устанавливается
в место обозначения маяка А и на карте проводится дуга окружности аа1.
Аналогично проводится дуга вв1 радиусом равным 3,5 м. Точка пересечения этих дуг
даст обсервованное место -
.
Рис. 217. Определение расстояния до маяка по вертикальному углу.

Рис. 218. Определение места судна по двум
расстояниям.
При этом способе место судна получается тем точнее, чем
ближе углы между дугами окружности к 90°. Достоинством является то, что для
определения места судна по расстояниям не требуется компас. Недостатком является
отсутствие контроля. Поэтому при использовании этого метода рекомендуется
проводить повторные наблюдения, чтобы проконтролировать точность обсервации.
Определение места судна по трём расстояниям
Этот способ определения места судна является одним из наиболее точных, т.к. наличие третьей линии положения (дуги) позволяет осуществить контроль. Место судна на карте определяется точкой пересечения трех дуг окружностей, проведенных радиусами, соответствующими измеренным (рассчитанным) расстояниям до ориентиров.
На практике, из-за наличия случайных и систематических ошибок, при графическом построении линий положения получается сферический треугольник. Если стороны этого треугольника не превышают 0,5 мили (в масштабе карты), то обсервованное место принимается в центре треугольника. В противном случае, следует увеличить или уменьшить расстояния на величину предполагаемой ошибки измерения и вновь построить линии положения. Получив новый треугольник погрешностей, соответствующие вершины треугольников соединяются линиями, пересечение которых даст обсервованное место (рис. 219).

Рис. 219. Сферический треугольник погрешности.






