Основные технические данные водометного мотор-весла «Мещеры»
Основные технические данные мотор-весла «Мещеры» (конструкция Н. Миттраха):
- Двигатель «Д-5» мощностью 1 л. с. при 4500 об/ мин
- Передача крутящего момента от вала двигателя на вал рабочего колеса осуществляется через штатный редуктор двигателя с передаточным отношением 4,2:1.
- Длина гребного вала 1200 мм.
- Рабочее колесо — трехлопастной гребной винт от десятисильной «Москвы» Ø 194 мм (можно применить винт от другого мотора).
- Расход горючего 0,4-0,6 л/час.
- Общий вес 14 кг.
- Заглубление водозаборника — 16-18 мм при угле наклона дейдвуда к горизонту в рабочем состоянии 12°.
Изготовление мотор-весла Мещера
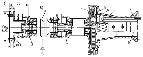
Изготовление мотор-весла целесообразно начать с конвертирования двигателя «Д-5» в лодочный мотор. На установке такой малой мощности холостой ход не обязателен, поэтому вместо трех дисков сцепления ставится ведомый шлицевой диск 5 (рис. 80) с тремя отверстиями под штифты ведущего диска двигателя.

Рис. 80. Конструкция узлов отбора мощности и пуска двигателя:
а —
вариант с пусковым диском; б — вариант с пружинным стартерным механизмом. 1 —
пусковой диск, дюраль; 2 — выходной вал двигателя; 3 — стартерный механизм; 4 —
диск муфты сцепления; 5 — шлицевой диск; 6 — штифты диска сцепления; 7 —
конусный переходник; 8 — дейдвудная труба, дюраль Ø 40×1, l = 2×606; 9 — ведущий
вал.
Для запуска двигателя можно использовать ручной стартерный механизм с убирающимся шнуром от бензонасоса «ЦБН-2» или, что проще, пусковой маховик, посаженный на конус выходного вала двигателя вместо ведущего зубчатого колеса. Для управления мотор-веслом к крышке магнето заклепками крепится трубчатый румпель длиной 200 мм, на конец которого монтируется штатная ручка газа велодвигателя. Тросик управления в оболочке пропускается к карбюратору внутри румпеля. Конструкция основных деталей силовой передачи мотора приведена на рис. 81.

Рис. 81. Конструкция основных деталей силовой передачи мотора: а —
конусный переходник, дюраль; б — шлицевой диск, сталь 50; в — ведущий вал.
1
— наконечник, сталь У8-У12; 2 — заклепки, сталь; 3 — труба, дюраль; 4 — винт М4;
5 — наконечник, сталь.
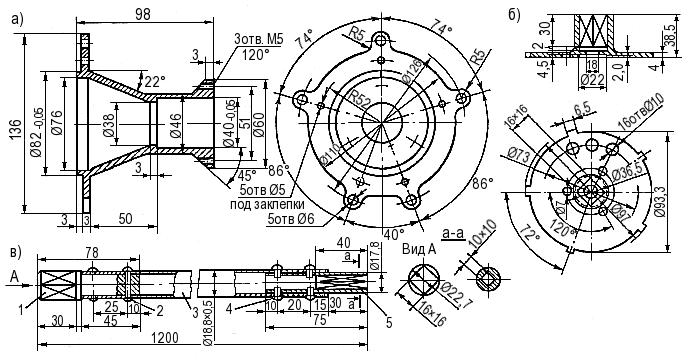
По сравнению с велосипедом на лодке двигатель работает в более тяжелом режиме, и чтобы обеспечить нормальное охлаждение, семь верхних ребер цилиндра заключены в рубашку водяного охлаждения с подачей воды по медной трубке Ø 6×1 из напорной зоны водомета. Рубашка имеет форму цилиндра и крепится посредством двух установочных колец 4 и клиньев 3, вклеенных между охлаждающими ребрами (рис. 82) смолой.

Рис. 82. Конструкция рубашки охлаждения двигателя: а — установка
рубашки на цилиндр двигателя; б — конструкция рубашки.
1 — входной патрубок,
Ø 8×1, латунь; 2 — рубашка, жесть, латунь; 3 — клиновое полукольцо, дюраль; 4 —
установочное полукольцо, жесть, латунь; 5 — выходной патрубок Ø 8×1, латунь.
Кольца и рубашка делаются из белой жести толщиной 0,5 мм, причем кольца выполняются из двух половинок и спаиваются оловом уже надетыми на цилиндр. Вода из рубашки сливается через верхний патрубок с обрезком резиновой трубки за борт или в выхлопную трубу глушителя. Двигатель в мотор-весле расположен иначе, чем на велосипеде, и чтобы обеспечить вертикальность поплавковой камеры, между карбюратором и картером устанавливается переходной патрубок, подгоняемый по месту. При использовании гребного винта от «Москвы» или других моторов нужно изменить направление вращения коленчатого вала двигателя. При этом возникает необходимость переделать магнето, чтобы размыкание контактов прерывателя происходило за 3,2-3,5 мм до прихода поршня в ВМТ.
Некоторая доработка требуется и всасывающему каналу двигателя для получения правильных фаз всасывания. Дейдвудная труба для удобства транспортировки состоит из двух равных отрезков, соединенных муфтой 13 (рис. 83).

Рис. 83. Силовая головка и подвеска мотор-весла
1 — штатная ручка
управления заслонкой карбюратора; 2 — румпель; 3 — пусковой механизм с
самоубирающимся шнуром; 4 — штатный бензобак; 5 — конусный переходник, дюраль; 6
— фланец дейдвудной трубы, дюраль; 7 — хомут; 8 — крюк подвески мотора; 9 —
пружина; 10 — торцевые шайбы подвески; 11 — наружная обойма подвески; 12 —
дейдвудная труба, дюраль Ø 40×1; 13 — муфта дейдвудной трубы, дюраль; 14 —
трубка системы охлаждения, медь Ø 6×1; 15 — ведущий вал; 16 — уключина, сталь;
17 — сегментный упор, текстолит; 18 — сегментный упор, дюраль.
Один отрезок запрессован в конусный переходник, шестью заклепками приклепанный к крышке редуктора. В конец другого вставляется втулка и навешивается водовод. Ведущий вал проходит внутри дейдвудной трубы и в концы его запрессованы втулки — с наружным квадратом для соединения со шлицевым диском двигателя и с внутренним квадратом для соединения с гребным валиком. На дейдвудной трубе в центре тяжести мотор-весла размещается шарнирное устройство для подвески его на лодке. Устройство позволяет поворачивать мотор в вертикальной и горизонтальной плоскостях (на рис. 83 показаны два варианта: на крюке и на уключине).
Само устройство состоит из наружной и внутренней разрезной трубчатых обойм с сегментными упорами для ограничения поворота мотора вокруг оси. Для смягчения ударов и уменьшения вибрации между ограничителями установлена пружина с торцевыми шайбами. На дейдвуд подвеска одевается с «моторного» конца дейдвуда и фиксируется зажимными кольцами. Водозаборник изготавливается из листового алюминия толщиной 1 мм. Цилиндрическая часть водовода и сопло делаются из алюминиевой кастрюли с внутренним диаметром 195 мм (если используется винт от «Москвы») и толщиной стенки 1,5 мм. Сопло крепится к водоводу тремя замками и в месте стыка уплотняется узким дюралевым кольцом.
Гильза водовода центруется относительно дейдвуда опорными лопатками, приваренными к гильзе и кольцу. Спрямляющие лопатки приварены к соплу рабочего колеса и к обтекателю, снабженному резиновым подшипником. Для смазки этого подшипника водой служит отверстие «а» (рис. 85) в корпусе обтекателя. Радиальный зазор между рабочим колесом, в данном случае грузовым винтом от «Москвы», и водоводом равен 0,2-0,5 мм, причем при изготовлении нужно стремиться к меньшей величине, так как тогда паразитные обратные протечки из полости повышенного давления уменьшаются и к. п. д. движителя возрастает.

Рис. 85. Движитель мотор-весла. (Нумерация позиций является
продолжением подписи к рис. 83)
12 — дейдвудная труба; 14 — трубка системы
охлаждения; 15 — ведущий вал; 19 — водозаборник, алюминий; 20 — стопорное
кольцо, сталь; 21 — подшипниковая втулка; 22 — уплотнение втулки; 23 — опорные
лопатки; 24 — спрямляющие лопатки; 25 — сопло; 26 — рабочее колесо; 27 —
обтекатель; 28 — замок; 29 — уплотняющая манжета, дюраль Ø 0,8×13 мм; 30 —
гильза водовода; 31 — манжета уплотнения гребного валика Ø 42×10×3 мм; 32 —
кольцо упорных лопаток; 33 — гребной валик; 34 — решетка водозаборника; 35 —
распорная втулка; 36 — крепежная шпилька; 37 — планка; 38 — защитная решетка; 39
— планка.
Винт от «Москвы» нужно уменьшить по диаметру на токарном станке на 12 мм. Колесо на гребном валике фиксируется установочным и фасонным кольцами, надевающимися на квадрат валика и выступы внутри ступицы колеса. Гребной валик установлен внутри подшипниковой втулки на двух шарикоподшипниках и зафиксирован от осевых перемещений стопорным кольцом. Три винта, крепящие подшипниковую втулку в дейдвудной трубе, служат одновременно и отверстиями для подачи смазки.Конструкция гребного вала и других основных деталей движителя приведена на рис. 84.

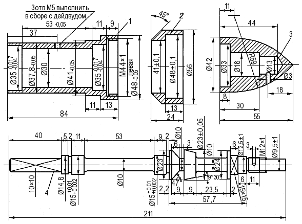
Рис. 84. Конструкция основных деталей движителя мотора.
1 —
подшипниковая втулка, дюраль; 2 — кольцо опорных лопаток, дюраль; 3 —
обтекатель, дюраль; 4 — гребной валик, сталь 20ХН.
Уплотнение гребного валика со стороны рабочего колеса осуществляется манжетой 31 (рис. 85), вырезанной из маслостойкой резины толщиной 3 мм, а уплотнение 22 втулки в дейдвудной трубе достигается намоткой ниток, пропитанных водостойким клеем. Отверстие водозаборника защищено решеткой, выполненной из полос дюраля толщиной 1 мм и шириной 20 мм, скрепленных между собой втулками и сквозными шпильками Ø 5. Ребро жесткости (2×15 мм) устанавливается посередине решетки. Нижняя сторона водомета закрыта защитной съемной решеткой, выполненной из стальных прутков Ø 5 мм, для жесткости скрепленных стальной полосой толщиной 2 и шириной 15 мм. Решетка предохраняет водозаборник от повреждений.
Охлаждающая вода в рубашку двигателя подается по трубке, проходящей в начале снаружи водовода, а затем внутри дейдвудной трубы. В месте разъема дейдвудной трубы охлаждающая трубка выводится наружу, и оба конца соединяются штуцерами с накидными гайками и П-образным отрезком трубы.Для уменьшения шума выхлопа глушитель следует заменить более эффективным. Его корпус выполняется из дюралевой трубы диаметром 45 и длиной 200 мм. Внутри корпуса вмонтирована перфорированная труба (Ø 25, l = 180 мм) с большим количеством отверстий Ø 6 мм по всей ее поверхности, зажатая по торцам двумя дисками диаметром 44 мм. Выхлопные газы поступают в перфорированную трубу через отверстие в диске, далее через перфорацию они устремляются в полость атмосферного давления между трубой и корпусом и выходят через щели, образованные корпусом и вторым внутренним диском, в концевую полость глушителя и далее в выхлопную трубу диаметром 10 мм. Она оканчивается выходным патрубком, имеющим вид трех трубочек Ø 3 мм, по его бокам просверлено 7 отверстий Ø 3 мм. В патрубок вмонтирована сливная трубка для охлаждающей воды.
В результате такой модернизации глушителя звук выхлопа значительно снижен, исчезли звенящие тона.
Общий вид мотор-весла показан на рис. 86.

Рис. 86. Общий вид мотор-весла «Мещера»






