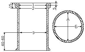
Схема измерения цилиндров лодочного мотора Вихрь
Замеры делают для определения диаметра, конусности (неравномерность износа по высоте), эллипсности (по диаметру) в двух местах, каждый на расстоянии 10-15 мм от верхнего торца гильзы и на 40-60 мм от нижнего торца гильзы в двух взаимно перпендикулярных положениях (рис. 35).

Рис. 35. Схема измерения цилиндров. А и Б — направления измерений. 1, 2, 3 — номера поясов
При отсутствии нутромера конусность можно довольно точно определить с помощью нового поршневого кольца. Оно вставляется в цилиндр (без перекоса), и щупом измеряется зазор в его стыке, при самом верхнем положении (допустим, он равен 0.5 мм), потом переставляют кольцо в нижнее положение — 40-60 мм (допустим, зазор будет 0.3 мм), конусность в этом случае равна (0.5-0.3)/3.14=0.063мм.
Диаметр цилиндра лодочного мотора "Вихрь" измеряют нутромером в трех поясах, как в продольном, так и в поперечном направлении двигателя. Для установки нутромера на нуль применяют калибр Ø72.0 (В-30), Ø67.0 (В-25). В зоне пояса 1 (см. рис. 35) цилиндры практически не изнашиваются. Поэтому по разности замеров в первом и остальных поясах можно судить о величине износа цилиндров.
Таким же образом можно замерить износ цилиндра. Кольцо вставляют в самый верх цилиндра и замеряют зазор в стыке. Затем опускают кольцо в самый изношенный пояс (на 10-15 мм от верха). Разделив разницу в зазорах на 3.14, получают величину износа по диаметру. Эллипсность так замерить нельзя.






