Диафрагменная помпа из двух мисок
Плюсы диафрагменной помпы не нуждаются в пояснениях: простота конструкции, большая производительность, компактность, способность откачивать загрязненную воду. Для изготовления данной помпы (рекомендация В. Малиновского) можно использовать две алюминиевые или нержавеющие миски диаметром около 170 мм. Одна из них (рис. 65, 1) образует рабочую полость помпы; в ее дне прорезаются отверстия для всасывающего и нагнетательного патрубков.

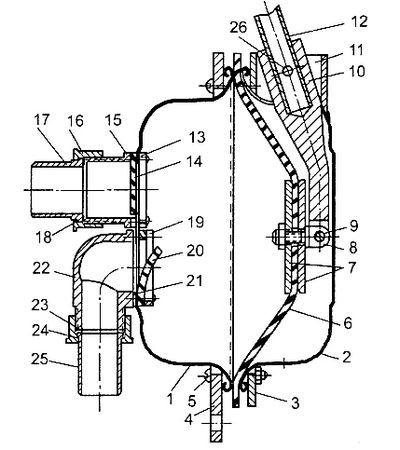
Рис. 65. Помпа в сборе.
1 - передняя крышка; 2 - задняя
крышка; 3 - кольцо; 4 - фланец; 5 - винт М5х25 с гайкой, 12 шт.; 6 - диафрагма,
резина, Ø 190 мм, толщ. 3 мм; 7 - шайба Ø 60, толщ. 3 мм, отв. Ø6, кромки
скруглить; 8 - тяга; 9 - палец; 10 - рычаг; 11 - скоба; 12 - труба 14x1 с
рукояткой; 13 - накладка; 14 - выпускной клапан; 15 - корпус выпускного
клапана

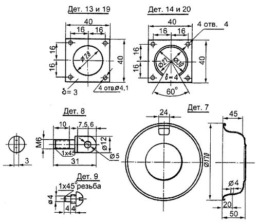
Рис. 66. Деталировка к рис. 65

Рис. 67. Деталировка к рис. 65.
Другая (2) служит наружным кожухом диафрагмы, к ней
приваривается скоба — опора рычага 10. Между ободками мисок
прокладывается резиновая диафрагма 6, после чего миски стягиваются
болтиками при помощи двух колец-фланцев 3 и 4. Фланец 4 служит
одновременно и для крепления помпы на лодке. Клапаны 14 и 20 также
вырезаются из 3-4-миллиметровой резины и крепятся к патрубкам винтами М3-М4
через накладки 13 и 19. Все металлические детали лучше сделать из
легких сплавов; рычаг 10 - из трубки 14х?2 длиной 300-400
мм.
Производительность такой помпы составляет около 40-50 л/ мин,
напор - до 3 м.






