Проверив наличие деталей, прокладок, крепежа и регулировочных шайб (это удобно сделать по перечню деталей), можно приступать сборке картера (см. рис.25) и коленчатого вала. Обязательное требование — чистота рабочего места и всех деталей.

Рис. 25. Схема сборки картера: а — верхней и средней части; б — нижней части (крышки)
Вначале устанавливают коренную опору нижней крышки. В нижнюю крышку картера, предварительно нагретую до 60-80°С, запрессовывают до упора в буртик подшипник № 205 у двигателей лодочных моторов "Вихрь" или № 305 у двигателей моторов "Вихрь-М(25)" и "Вихрь-30" (рис. 19). Запрессовку подшипника следует делать с помощью оправки (рис. 20), а посадочное место смазывают маслом. Затем на манжеты 2.112-000 надевают пружинки и одну из них вставляют в гнездо на расстояние 3.0-4.0 мм от внутреннего кольца подшипника.
Затем во внутреннюю полость манжеты набивают смазку ЦИАТИМ-201 и вставляют вторую манжету. Осаживая обе манжеты, нужно добиться, чтобы они были утоплены на 3.5-4.5 мм от нижней плоскости крышки (рис. 21). При таком заглублении внутренняя манжета не будет касаться кольца подшипника. При заводской сборке манжеты устанавливают пружинками наружу.

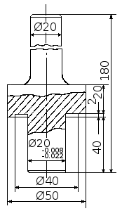
Рис. 19. Запрессовка подшипников в нижнюю крышку картера. 1 — подшипник № 305 или № 205; 2 — манжета 2.112-000

Рис. 20. Оправка для запрессовки подшипника нижнюю крышку картера

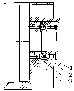
Рис. 21. Верхняя коренная опора (крышка картера). 1 — подшипник № 60205; 2 — манжета 2.214-000; 3 — кольцо 2.103-004; 4 — подшипник № 205.
Все детали верхней коренной опоры — шарикоподшипники № 60205 и № 205 и установленную между ними в распорном кольце манжету — запрессовывают одновременно. Для этого их собирают в один пакет: подшипник № 60205 кладут защитной шайбой вниз и его внутреннюю полость набивают смазкой ЦИАТИМ-201, манжету кладут пружиной вверх в наружное распорное кольцо, а сверху — подшипник № 205. В собранный пакет вставляют оправку (рис. 22) с упором в наружное кольцо подшипника № 205. Затем узел запрессовывают изнутри в верхнюю крышку до упора в буртик. Крышку предварительно нагревают до 60-80°С, а посадочное место подшипников смазывают маслом.

Рис. 22. Оправка для запрессовки в верхнюю коренную опору — крышку картера
Верхнюю крышку нужно установить обязательно с упором на наружную сторону буртика подшипникового гнезда и запрессовку выполнять осторожно, чтобы не сломать буртик.
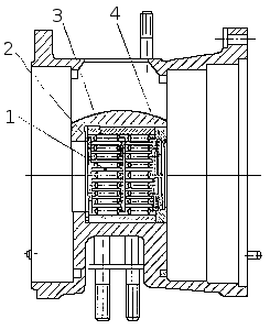
При сборке средней коренной опоры (рис. 23) в предварительн нагретую среднюю часть картера вначале вкладывают кольцо 2.102 002, затем до упора в кольцо прессуют втулку подшипника 2.102-003 смазанную маслом. Во втулку вставляют сепараторы 2.142-001, собранные с роликами. При этом, если ни втулка, ни ролики не заменялись, их следует расположить так, как они стояли до разборки. При замене втулки на новую ролики необходимо комплектовать согласно размерной группе втулок, о чем сказано ранее, а при замене только роликов или части их — по размерам старой втулки или старых роликов. Ролики вставляют в сепараторы с внутренней стороны: при сборке они удерживаются густой смазкой ЦИАТИМ-201. При запрессовке втулки и уплотнения необходимо пользоваться оправкой, показанной на рис. 24, для того чтобы не повредить посадочную поверхность средней опоры и не погнуть лабиринтное уплотнение.

Рис. 23. Схема сборки средней коренной опоры. 1 — сепаратор 2.142-001 с роликами о 2.5x12; 2 — кольцо 2.102-002; 3 — втулка 2.102-003; 4 — лабиринт 2.102-001

Рис. 24. Оправка для запрессовки втулки и уплотнения






