Корпус швербота
Работу над корпусом следует начинать с постройки стапеля. Заготавливают два деревянных бруска сечением 50x100 мм и длиной 2880 мм, располагают их параллельно друг другу на расстоянии 300 мм и скрепляют тремя-четырьмя поперечинами. После этого можно приступать к изготовлению поперечного набора. Он состоит из трех шпангоутов - носового, мидель-шпангоута и транцевой доски. Каждый из них необходимо вычертить в натуральную величину на листе фанеры и, пользуясь этим листом как плазом, собрать шпангоуты из сосновых досок толщиной около 20 мм. Соединение отдельных элементов - вполдерева, на водостойком клее и шурупах.

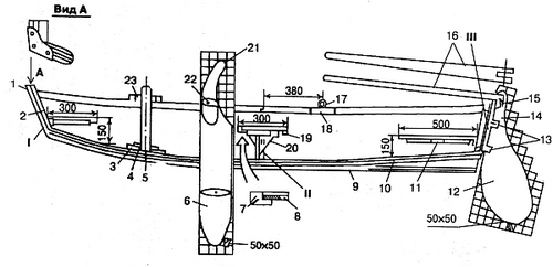
Рис. 28. Корпус швербота: 1 - угловая кница (фанера S8 мм); 2 - носовая банка; 3,4 - степс (опора) мачты (фанера); 5 - мачта; 6 - навесной шверц (фанера или сосновая доска 18х190х1200 мм, 2шт.); 7 - рамка банки (сосна 18х45 мм); 8 - сиденье банки (фанера S8 мм); 9 - полоз киля (дубовая рейка S18 мм); 10 - киль; 11 - банка; 12 - руль (фанера S10 мм); 13 - шарниры руля; 14 - боковые накладки руля (фанера S8 мм); 15 - упор; 16 - румпель (дубовая рейка 18х75х1200 мм); 17 - уключина; 18 - дубовая вставка; 19 - центральная банка; 20 - косынка (фанера S8 мм); 21 - боковые накладки шверца (фанера S 8 мм); 22 - поперечина для крепления шверцов; 23 - опора мачты

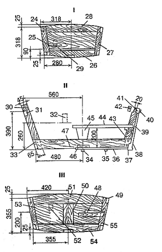
Рис. 28. Корпус швербота (продолжение):
I. Носовой шпангоут: 24 - угловой стрингер (сосна 18x45
мм); 25 - обшивка (фанера S5 мм); 26, 28 - нижняя и верхняя детали шпангоута
(сосна 18x80 мм); 27 - боковая деталь шпангоута (сосна 18x45 мм); 29 -
расположение бруса стапеля;
II. Мидель-шпангоут: 30 - боковая
деталь шпангоута (сосна 18x65 мм); 31 - внешний стрингер (сосна 18x45 мм); 32 -
расположение бруса стапеля; 33 - болты М6; 34 - киль (дубовая рейка); 35 -
дополнительный (необязательный) элемент продольного набора; 36 - обшивка днища
(фанера S6 мм); 37 - заделка стыка (стеклопластик); 38 - угловой стрингер (сосна
18x30 мм); 39 - обшивка борта (фанера S4-6 мм); 40 - окантовка борта
(полукруглая дубовая рейка); 41 - внешний стрингер (сосна 18x45 мм); 42 -
внутренний стрингер (сосна 18x45 мм); 43 - опора банки (фанера S 6 мм), 44 -
сиденье (фанера S 8 мм); 45 - опора сиденья (фанера S 8 мм); 46 - килевой брус
(сосна 18x90 мм); 47 - нижняя часть мидель-шпангоута (сосна 18x90 мм);
III. Транцевая доска: 48 - сиденье кормовой банки (фанера S8 мм), 49 - стрингер (сосна 18x46 мм), 50 - детали шпангоута (сосна 18x90 мм), 51 - накладка (фанера S8 мм), 52 - расположение бруса стапеля; 53 - обшивка транца (фанера S6-8 мм); 54 - нижняя часть каркаса транца (сосна 18x75 мм); 55 - боковая часть каркаса (сосна 18x45 мм)
Теперь можно приступать к сборке корпуса. Шпангоуты устанавливают на стапеле (рис. 29). Укрепить их лучше всего шурупами. То, что в результате в корпусе окажутся «лишние» отверстия, не должно беспокоить - впоследствии их можно заделать деревянными пробками на клею.

Рис. 29. Установка шпангоутов на стапель: 1 - поперечины; 2 - продольные брусья стапеля; 3 - носовой шпангоут; 4 - мидель-шпангоут; 5 - транец
Под килевой брус прорезают пазы и временно прикрепляют его одним шурупом к мидель-шпангоуту. Далее, последовательно подгибая килевой брус, стыкуют его с носовым шпангоутом и транцем. После подгонки временный крепеж извлекается и брус окончательно ставится на свое место. При этом используются эпоксидный клей и шурупы с потайной головкой. Затем следует прорезать пазы в шпангоутах под остальные детали продольного набора. Последовательность подгонки и установки реек та же, что и для килевого бруса. После окончательной их вклейки в шпангоуты с помощью линейки проверяют параллельность внешних граней продольного и поперечного набора и, обнаружив, что линейка прилегает не полностью, прострагивают рейки рубанком и зачищают рашпилем.






