Обшивка отделка швербота
Обшивку корпуса лучше всего начинать с днища. Лист фанеры прихватывают струбцинами и очерчивают карандашом по контуру с припуском (рис. 30). После обрезки и предварительной подгонки обшивку фиксируют с помощью шурупов и эпоксидного клея. Шурупы лучше всего использовать латунные или стальные оцинкованные. После отвердения клея кромки обшивки обрабатывают рубанком. Борта обшиваются точно так же. Закончив эту работу, корпус можно снять со стапеля и приступить к врезке внутренних стрингеров, являющихся окантовкой и усилением верхней части борта. При этом необходимо тщательно рассчитать их длину. Между наружными и внутренними стрингерами вклеивают распорки толщиной 20 мм с шагом 300 мм (рис. 31). Две распорки должны быть усилены - они будут использоваться как основания для уключин.

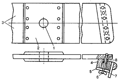
Рис. 30. Схема раскроя листов обшивки:
1 - днище; 2,5 -
обшивка бортов; 3 - обшивка транца; 4 - обшивка носа; 6 - остаток фанеры для
книц, косынок, накладок

Рис. 31. Заделка бортов:
1 - вставка (сосна 18x45x50
мм); 2 - внешний стрингер, 3 - внутренний стрингер; 4 - привальный брус; 5 -
обшивка; 6 - шуруп
Стыки между бортами и транцем и между бортами и носовым шпангоутом укрепляют угловыми кницами, выпиленными из фанеры толщиной 6-8 мм и закрепленными на корпусе внакладку шурупами и клеем. Шверцы вырезают из сосновых досок либо иг фанеры толщиной 15-18 мм. Их поперечное сечение напоминает двояковыпуклый симметричный профиль самолетного крыла. В верхней части шверцов с обеих сторон каждого наклеивают фанерные (толщиной 8 мм) накладки (рис. 32, 33, 34).

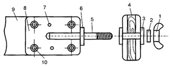
Рис. 32. Поперечина для установки шверцов:
1 -
гайка-барашек; 2, 6 - шайбы; 3 - шайба-накладка (приклеить эпоксидным клеем); 4
- шверц; 5 - шпилька с резьбой М12; 7 - отверстия под болты крепления поперечины
к корпусу; 8 - стальная пластина (3x90x125 мм); 9 - поперечина (дуб или бук
20x90 мм); 10 - болт М6 с гайкой

Рис. 33. Установка поперечины на корпус:
1 -
поперечина; 2 - стрингеры; 3 - накладка (фанера 8x55x100 мм); 4 - болт М6; 5 -
борт; 6 - прокладка (дерево)
Руль парусника - из 10-миллиметровой фанеры; румпель, шарнирно соединенный с рулем, - из дубового бруска. По окончании этих работ приступают к отделке корпуса. Предпочтительнее оклеить его снаружи стеклотканью на эпоксидном клее, но допустимо и просто прошпаклевать, загрунтовать и окрасить в желаемый цвет. Руль, шверцы и банки следует пропитать горячей олифой и отлакировать.

Рис. 34. Поперечина - опора мачты:
1 - отверстие под
мачту; 2 - накладка (фанера 8x175x175 мм); 3 - детали поперечины (сосна 20x90
мм); 4 - внутренний стрингер; 5 - накладка (фанера 8x55x150 мм); 6 - болт М6; 7
- обшивка борта; 8 - прокладка (дерево)
Высота мачты - 3200 мм. Диаметр ее около основания - 60 мм, в верхней же части - 40 мм. Гафель и гик паруса - из алюминиевых труб 030-40 мм и длиной 3000 мм. Вполне можно сделать их из сосновых брусков соответствующей длины. Гафель и гик соединяются с парусом карманами, пришитыми к основному полотнищу.
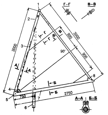
Парусное вооружение швербота - латинское, площадью 4,5 м2 (рис. 35). Мачта закрепляется на расстоянии 760 мм от носа (шверцы при этом располагаются на удалении 1220 мм относа). Небольшая площадь паруса позволяет обойтись без сложной системы блоков. Потребуется всего один блок, закрепленный с помощью вертлюга на килевом брусе, и два-три места растительного или капронового каната (для гика-шкота). При установке мачты и шверцов необходимо добиться, чтобы центр парусности располагался на 100-150 мм ближе к носу, чем центр бокового сопротивления.

Рис. 35. Парусное вооружение швербота:
1 - гафель; 2 -
косынка фалового угла паруса с люверсом; 3 - карман; 4 - косынка галсового угла
с люверсом; 5 - гик; 6 - мачта; 7 - карман; 8 - косынка шкотового угла с
люверсом






