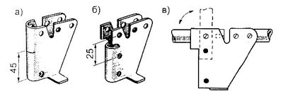
Для этого кронштейны снимают с сидений и делают в них вертикальные пропилы ножовкой, как показано на рис. 35.

Рис. 35. Схема доработки кронштейнов сидений.
а -
разметка положения конца вертикального пропила в кронштейне; б - отгиб кромок
пропилов; в - спинка сидений откинута вниз.
Кромки металла затем отгибают и сверлят одно дополнительное отверстие для шпильки. Заклепки в креплениях кронштейнов заменяют на винты. Доработанные таким образом сиденья легко трансформируются в два спальных места.






