Все коптильни разделяются на стационарные и разборные. У каждого типа есть свои ярые приверженцы, накопившие значительный опыт использования той или иной конструкции. Можно сказать сразу, что на качестве приготовляемой рыбы тип коптилен не отражается.
Разборные без сомнения привлекают внимание тех, у кого возникают проблемы с перевозкой и доставкой на водоем крупногабаритных предметов (рис. 7).

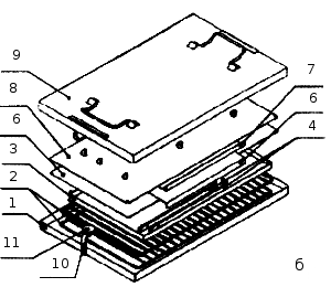
Рис. 7. Коптильня складная. а - Подготовка к работе. Вставьте в основание (1) коптильни торцевые стенки (2); вставьте в пазы отбортовок торцевых стенок продольные стенки (3). Уложите на дно основания (1) ровным слоем сухую щепу или ветки для наработки дыма, установите на нижний ряд уголков на продольных стенках поддон (4) для сбора сока и жира, установите над поддоном на уголках продольных стенок две или одну решетки (5) с продуктом для копчения. Закройте все крышкой (6); зацепите за скобы на основании стяжки большие (7) с винтами (8) и зафиксируйте всю сборку, обжав слегка крышку винтами. Оптимальные условия для копчения установить коптильню на работающем таганке от кухни походной КП-1. Допускается устанавливать коптильню непосредственно на угли или какую-либо подставку.

Рис. 7. Коптильня складная (продолжение). б - Подготовка к транспортировке. Уложите в основание (1) коптильни две решетки (2), положите на решетки поддон (3), уложите в поддон две большие стяжки (4). Положите сверху на поддон продольную стенку (5) уголками вниз; накройте эту стенку торцевой стенкой (6), уложив ее отбортовкой вниз; положите на торцевую стенку вторую торцевую стенку (7), но уже отбортовкой вверх.Положите на вторую торцевую стенку вторую продольную стенку (8) (уголками вверх). Накройте всю сборку крышкой (9); Зацепите за скобы на основании стяжки малые (10) с винтами (11) и зафиксируйте всю сборку обжав крышку винтами.
Неразборные больше привлекают ленивых, не желающих каждый раз собирать и разбирать коптильню, тем более, если места в машине достаточно. Понятно, что, имея в распоряжении автомобиль типа "Ока" или обычный мотоцикл, рыболов выберет разборную конструкцию.
Если с неразборными коптильнями все понятно (объем и форму выбирает рыболов), то к разборным конструкциям добавляется еще одно требование: они не должны подсасывать воздух в нижней части по стыкам, а также в местах соединения стенки с дном.
В противном случае процесс копчения будет скомкан, так как древесина начнет подгорать при нагреве днища.
По существующим санитарным нормам коптильня должна быть изготовлена из пищевой нержавеющей стали. Кто коптит рыбу в коптильнях из обыкновенного черного металла, наплевательски относится к своему здоровью.
Внимание: при выезде на рыбалку компании из 4-5 человек рациональнее пользоваться коптильней в составе универсальной походной кухни.
Коптильня, входящая в состав кухни в зависимости от ситуации может использоваться отдельно, хотя идеальный вариант -коптить рыбу в составе кухни.
Об экономичности кухни можно сказать, что для своих габаритов (максимальные размеры печи 526 x 310 x 280 мм расход топлива выглядит просто смешным. При использовании походной кухни вопрос: "где достать дрова?", становится неактуальным, так как на приготовление двух-трех блюд потребуется в 5-6 раз меньше древесины, чем при приготовлении на костре или мангале открытого типа. Сухой хворост нужен только для разжигания.
При приготовлении пищи кухня поддерживает необходимый температурный режим, пламя не задувается сильным ветром, поэтому ее можно смело использовать даже в дождливую погоду.
С приобретением кухни у рыболовов-гурманов появится возможность готовитьсамые изысканные блюда в походных условиях (фото 10).

Фото 10. Коптильня в составе универсальной печи (процесс копчения идет полным ходом)






