Падение лодочного мотора Вихрь в воду
Падение лодочного мотора в воду — весьма неприятный случай, который может обернуться если и не потерей мотора, то серьезными повреждениями блока цилиндров, кривошипно-шатунного механизма и других важных узлов. Чтобы этого избежать на ходу, следует периодически проверять затяжку винтов опор подвески. При установке на лодку мотор необходимо поставить на транец опорами на всю глубину их пазов и надежно завернуть винты усилием руки. Мотор следует хорошо прикрепить страховочным тросом к прочному предмету оборудования лодки — обушку, ручке для переноски, швартовной утке. Другой конец привязывают за верхнюю часть дейдвуда или заднюю ручку мотора.
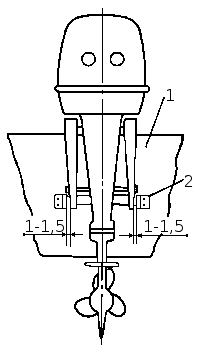
Соскальзывание лодочного мотора Вихрь с транца в воду почти исключается, если к транцу по ширине низа кронштейнов прикрепить два алюминиевых угольника (рис. 97), ограничивающих перемещение мотора вдоль транца (соскальзывание мотора при ослаблении винтов кронштейнов происходит с поворотом в плоскости транца). Если дополнительно в концах рукояток струбцин сделать отверстия диаметром 2-3 мм и законтрить их проволокой, от соскальзывания мотора можно почти полностью избавиться.

Рис. 97. Упоры на транце мотолодки для страховки мотора от соскальзывания с транца. 1 — транец; 2 — угольник 30x30x4, 2 шт.
Если же лодочный мотор все-таки побывал в воде, необходимо не откладывая приступить к его осмотру, устранению неисправностей и запуску.
Возможны два случая падения мотора в воду: неработающего, например, при его навешивании или снятии с транца, и работающего, когда мотор срывается на ходу и глохнет от попадания воды.
Попадание в воду неработающего лодочного мотора
При попадании в воду неработающего лодочного мотора сначала нужно осмотреть его снаружи. В карбюраторе, под маховиком, в свечных колпачках не должно быть грязи и песка. Мотор обтирают снаружи. Затем выворачивают свечи, ставят мотор свечными отверстиями вниз и несколько раз провертывают коленчатый вал для более полного удаления воды с помощью пусковкого механизма. Внутреннюю полость цилиндров и картера промывают топливной смесью, заливаемой через диффузор карбюратора при прокручивании коленчатого вала.
Внимание: Кнопка "стоп" при этом должна быть нажата!
После этого проверяют наличие искры. Если она отсутствует, то необходимо через отверстие в маховике удалить воду с контактов прерывателей. При наличии песка в карбюраторе или в магнето проворачивать коленчатый вал не следует. Карбюратор надо снять, прочистить и промыть бензином; после этого снять маховик, высушить и очистить от песка магнето и маховик. Особенно тщательно очищают контакты прерывателя. Конус коленчатого вала и башмаки маховика нужно смазать тонким слоем масла, затем надеть маховик. Глушитель снимают для того, чтобы убедиться в отсутствии песка в одном из цилиндров. Только после этого можно попытаться провернуть коленчатый вал и проверить наличие искры.
Установив все снятые детали на место, необходимо промыть двигатель топливной смесью, установить вертикально и запустить. Если при снятии глушителя внутри цилиндров обнаружен песок, проворачивать коленчатый вал нельзя, необходимы полная разборка двигателя и промывка отдельно каждой детали, так как песок в цилиндр мог попасть только через карбюратор, а значит и через картер. Песок может попасть также в коренные подшипники.
Падение в воду работающего лодочного мотора
При падении в воду работающего лодочного мотора может произойти гидравлический удар, когда через карбюратор и далее через картер в камеру сгорания мотора попадает вода. При такте сжатия вследствие несжимаемости воды могут разрушиться поршни, шатуны, коленчатый вал: произойти прорыв прокладок. Поршни также могут получить трещины из-за их резкого охлаждения. После осмотра и чистки такого двигателя следует убедиться в плавном, без заеданий, проворачивании коленчатого вала, проверить компрессию, поочередно закрывая пальцем свечные отверстия и прокручивая коленчатый вал. При малейших подозрениях лучше разобрать двигатель и осмотреть детали. Если коленчатый вал проворачивается без заедания, двигатель можно запустить.
После запуска побывавшего в воде лодочного мотора, его следует прогреть сначала на холостом ходу, а затем на средних и больших частотах в течение не менее 2-3 ч.
Работа на больших частотах вращения в первые минуты после запуска опасна — возможно появление задиров в результате попадания воды на поверхности трения.
При падении мотора в морскую воду полости и поверхности, в которых была соленая вода, следует обязательно промыть пресной водой. Особенно тщательно промывают систему зажигания, так как соленая вода электропроводна и вызывает усиленную коррозию.
Если попытки запустить двигатель оказались безуспешными, даже при установке запасного магнето, или коленчатый вал проворачивается туго, с заеданием, ни в коем случае нельзя применять силу для его прокручивания.
Следует удалить из двигателя как можно больше попавшей воды, придавая ему различные положения, и промыть внутренние полости топливной смесью.
Затем между карбюратором и картером, а также между глушителем и цилиндрами требуется поставить заглушки из плотной бумаги и через свечные отверстия залить достаточно большое количество масла, наклоняя двигатель в разные стороны. После этого в возможно более короткий срок нужно доставить мотор в мастерскую, чтобы там его перебрали и устранили поломку; при достаточном опыте к этой работе можно приступить самому.
Может оказаться, что система зажигания замкнулась накоротко просочившейся водой или некоторые ее элементы повреждены. Правда, в современных подвесных лодочных моторах компоненты системы имеют влагонепроницаемое исполнение и обычно нормально переносят "купание".
Тем не менее, если искра пропала (и даже если она есть, данная рекомендация — хорошая мера профилактики), нужно снять маховик, продуть основание магнето и оставить его подсушиться на солнце.
Внимание: Не поддавайтесь соблазну ускорить процесс сушки магнето над костром или над газом.
Повышенная температура может вызвать повреждения различных элементов системы зажигания.
Внутрь мотора, который некоторое время оставался на мягком дне, может проникнуть значительное количество песка, гравия, ила или тины. Это приводит к засорению системы охлаждения, поэтому следует непременно промыть всю систему чистой водой. Тина, затвердевшая в проходах для воды, может преградить ей путь, а перегрев может привести к заклиниванию двигателя.
Начинать работы по восстановлению работоспособности мотора нужно сразу же, как только он будет извлечен из воды. Пока мотор находится в воде, процессы коррозии происходят крайне медленно. Моторы поднимались со дна, где они лежали в течение нескольких недель, даже в соленой воде, и производили впечатление почти новых. Но, как только мотор попадает на воздух, начинает проявлять себя коррозия, поэтому необходимо принимать самые безотлагательные меры, чтобы предотвратить ее разрушающее действие. Если отложить процедуры по "спасению" мотора на потом, даже на ночь, а не сразу после того, как он был вынут из воды, то может потребоваться замена всего комплекта подшипников.






