Предлагаемая конструкция (разработка Л. Михновского) рассчитана на подвесные моторы мощностью около 5 л. с. Из отечественных моделей для этой цели лучше всего подходят такие давно снятые с производства подвесные моторы как «Стрела» и «Прибой». Можно с уверенностью сказать, что, несмотря на прошедшие с тех пор десятилетия, еще много этих устаревших моторов лежат без дела у владельцев лодок.
А между тем, ту же «Стрелу» нетрудно превратить в легкий водометный мотор, незаменимый для охоты или рыбалки на самых мелких речках и озерах. Для изготовления простой водометной приставки конструкцию движителя можно сделать целиком сварной из тонкой листовой нержавейки. В проставке мотора закрепляются подшипники валика водомета (рис. 72).

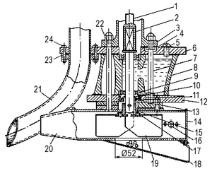
Рис. 72. Сборочный чертеж водомета.
1 — вертикальный вал, длина 370
мм; 2 — валик движителя Ø 15 мм; 3 — верхний подшипник №202; 4 — прокладка; 5 —
пробка для заливки масла М8; 6 — верхнее донышко проставки, полоса 10×60×210; 7
— шпилька М8×110; 8 — проставка от мотора «Стрела»; 9 — нижний подшипник №201;
10 — сальник; 11 — сливное отверстие для масла; 12 — нижнее донышко проставки,
полоса 10×45×160; 13 — прокладка; 14 — корпус водомета; 15 — втулка крепления
ротора; 16 — трубка отбора воды на охлаждение двигателя; 17 — диск крепления
ротора Ø 46×2; 18 — водозаборник; 19 — ротор; 20 — сопло; 21 — выхлопной
патрубок; 22 — шпилька с потайной головкой М8×120; 23 — планка для крепления
патрубка 60×60; 24 — винты М4×30.
По концам проставка 8 закрывается верхней и нижней пластинами 6 и 12, которые стягиваются шпильками 7 и 22 вместе с дейдвудом мотора. К верхней пластине крепится планка 23 выхлопного патрубка 21, к нижней — корпус движителя 14. Корпус имеет два донца, которые нужно разметить радиусами из шести центров, расположенных на окружности диаметром 16 мм (рис. 73).

Рис. 73. Эскиз для разметки корпуса движителя.
1 — ободок 2×11×460;
2 — боковина корпуса 2×62×490.
В нижнем донце нужно сделать отверстие диаметром 52 мм для забора воды, в верхнем — диаметром 27 мм для прохода втулки 15, к фланцу которой крепится ротор. К нижнему донцу на прихватках надо приварить ободок из полосы 11×460 с резьбой для крепления боковины 26 корпуса шестью винтами М4. При подгонке боковины между донцами корпуса целесообразно положить деревянный кружок толщиной 50 мм. Изогнув полосу, нужно стянуть ее проволокой и приварить к верхнему донцу. Выходное сопло выкраивается из двухмиллиметровой стали и также приваривается к корпусу. Готовый корпус приваривается точками к донцу водозаборника 18 — в центре и к ободку у входного отверстия.
Ротор-крыльчатка 19 имеет 8 лопаток радиального типа, приклепанных к диску диаметром 110 мм. Каждую лопатку нужно изогнуть по радиусу 55 мм, причем центры этих радиусов должны находиться на окружности диаметром 55 мм (рис. 74).

Рис. 74. Разметка ротора и развертка его лопатки.
В канавке фланца ротора устанавливается пружинный замок для цилиндрического штифта 5×22 мм, которым фланец крепится на оси.
Для отбора воды на охлаждение двигателя на боковой стенке улитки под углом 120° от выходного сопла по направлению вращения нужно поставить отводную трубку (медь, Ø 7 мм). Вход трубки в корпус для облегчения движения струи нужно расположить не по радиусу, а под углом 45°. Трубка окольцовывается, впаивается оловом в дугообразную медную пластинку 20×60 толщиной 4 мм и присоединяется к корпусу двумя винтами. На верхней и нижней крышках проставки имеются отверстия для заливки и слива масла. Нижний подшипник №202 заменяется на более плоский №201 с боковой прокладкой из полосы толщиной 1,5 мм. Под ним ставится сальник 35×15, запрессованный в гнездо нижней крышки.
Шпилька 7 позволяет собрать воедино блок проставки с уже залитым маслом. Для этого на шпильке нужно продолжить резьбу и поставить три дополнительные гайки толщиной 5-6 мм прокладками. К корпусу водомета проставка присоединяется через алюминиевую прокладку 13 двумя болтами М6×20. Прокладку нужно закрепить ко дну проставки заклепками или винтами М5. Шпилька 22 утапливается головкой в верхнем донышке корпуса.
Вертикальный вал 1 укорачивается на 110 мм, так как сам мотор получается короче на 185 мм. Вес всей водометной приставки — 3,7 кг. Перед тем как вставить дно корпуса необходимо в стыке у выходного сопла проложить полоску микропористой резины. На рис. 75 показан общий вид основных деталей и водомета в сборе.

Рис. 75. Общий вид водомета и основные детали.
Скорость, полученная при испытаниях с водометной «Стрелой» на «Казанке» с одним человеком и 60 кг груза, составила 12 км/час, с тремя пассажирами — 9 км/час.






