К числу особенностей конструкции лодочного мотора Вихрь надо отнести литой алюминиевый блок цилиндров с запрессованными в него двумя гильзами из высоколегированного износоустойчивого чугуна марки Сч21 -40. Блок включает продувочные и выпускные каналы и водяную рубашку системы охлаждения, вода которой непосредственно омывает стенки "мокрых" гильз. В моторах "Вихрь" применялись два самостоятельных раздельных цилиндра. Благодаря высокому качеству чугуна гильзы работают многие годы и заменять их приходится очень редко, в основном в случаях механических повреждений "зеркала" при попадании постороннего предмета или при поломке поршневого кольца.
Двигатели моторов "Вихрь-М(25)" и "Вихрь-30" имеют различные диаметры цилиндров, поэтому их блоки невзаимозаменяемы.
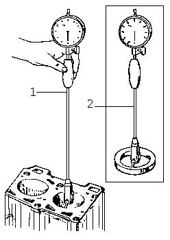
Если вы эксплуатировали лодочный мотор много лет, нужно проверить наличие компрессии в обоих цилиндрах. Для этого на имеющемся собранном моторе (или на уже снятом двигателе) следует вывернуть из головки блока обе свечи и, закрывая большим пальцем руки поочередно оба отверстия, затем проворачивая двигатель за маховик, ощутить давление воздуха в цилиндре. Если оно явно чувствуется, значит компрессия есть. И наоборот, если давление воздуха почти не ощущается или плохо заметно, следовательно, компрессия и, соответственно, мощность двигателя будут недостаточны. Далее нужно снять головку блока и замерить нутромером диаметр гильз (цилиндров). Схема замера зеркала цилиндра приведена на рис. 33.
Рис. 33. Схема замера зеркала цилиндра (гильзы) нутромером
Гильзы цилиндров выпускаются трех размерных групп, что позволяет вести их сборку с поршнями соответствующих групп, иметь минимальный зазор и обеспечивает более высокую мощность двигателя. В одном блоке могут стоять гильзы разных групп. Полученные данные замеров гильз понадобятся при дальнейшей сборке с поршнями. В зависимости от диаметра зеркала в пределах допуска +0.03 мм цилиндры подразделяются на три группы:
|
Группа |
Диаметр зеркала, мм | |
|
"Вихрь-М(25)" |
||
|
0 |
67.03-67.02 |
72.03-72.02 |
|
1 |
67.02-67.01 |
72.02-72.01 |
|
2 |
67.01-67.00 |
72.01-72.00 |
Номер групп наносят ударным клеймом рядом с выхлопными окнами или на приливах металла блока со стороны выпускных окон (рис. 34). Если при обмерах цилиндров их эллипсность и конусность превысят допустимую величину 0.03 мм, но выработка по диаметру не превышает 0.015-0.02 мм, цилиндр можно слегка отхонинговать притиром или притереть абразивным чугунным порошком, сохранив группу во избежание замены поршней.
Рис. 34. Места клеймения группы каждой гильзы (показаны стрелками)
Если эллипсность и конусность оказались в пределах нормы (менее 0.03 мм), но диаметр изношенной части цилиндра превышает номинальный более чем на 0.15-0.20 мм, то цилиндр лучше заменить новым. Устанавливать новые поршни или кольца в такой цилиндр не имеет смысла — технические показатели двигателя не восстановятся. Вследствие износа зеркало приобретает конусность или овальность с большей выработкой по оси, перпендикулярной поршневому пальцу, что надо учитывать при замерах.
Поскольку верхнее поршневое кольцо не доходит до торца гильзы на 4.0-5.0 мм, на этом пояске образуется коричневый нагар, который тоже нужно учесть при обмерах, но его следует удалить. На зеркале цилиндров можно обнаружить незначительное налипание алюминия от поршня, которое придется обязательно счистить острым шабером или даже ножом. Применять шкурку в этом случае не следует, чтобы не повредить зеркало.
Обмер цилиндров мотора Вихрь с помощью нутромера
Замеры делают для определения диаметра, конусности (неравномерность износа по высоте), эллипсности (по диаметру) в двух местах, каждый на расстоянии 10-15 мм от верхнего торца гильзы и на 40-60 мм от нижнего торца гильзы в двух взаимно перпендикулярных положениях (рис. 35). Подробнее...






