При большей частоте вращения КПД движителя будет очень низок, он не разовьет упора, необходимого для преодоления «горба» сопротивления. Особенно, если водомет будет устанавливаться на какую-либо заводскую лодку, имеющую большую, чем у «Мурены» смоченную ширину днища и массу. В качестве примера приводим общую компоновку двух вариантов механической установки с двигателями от подвесных моторов.
В первом варианте используется двигатель с поддоном и штатный редуктор мотора, которые соединяются в единый агрегат через проставку 8 — коробку сварной конструкции из стали или легких сплавов (рис. 44).

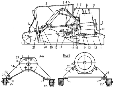
Рис. 44. Механическая установка «Мурена» с
использованием штатного редуктора «Вихря».
1 — водометный движитель; 2 —
трубопровод воды системы охлаждения, Ø 10×1; 3 — привод реверсивной заслонки; 4
— исполнительный механизм реверса; 5 — двигатель; 6 — пластмассовый капот; 7 —
выпускной патрубок, dвн = 30 мм; 8 — проставка; 9 — подвод воды на охлаждение
двигателя; 10 — коллектор системы охлаждения; 11 — к манометру на пульте, шланг
dвн = 6-8; 12 — подвод воды к змеевику в редуктор, трубка Ø 6×1; 13 — кронштейн,
сварной из угольников 25×25×2; 14 — отвод воды из редуктора, трубка Ø 6×1; 15 —
редуктор в сборе; 16 — эластичная муфта; 17 — глушитель; 18 — хомутик; 19 —
дюритовый шланг dвн = 30; 20 — рулевой привод; 21 — смотровой лючок водомета; 22
— поддон двигателя; 23 — стрингер.
В верхней и нижней плитах проставки делаются отверстия для крепежных болтов поддона и редуктора, для подвода (и отвода) воды в системуохлаждения двигателя, вертикального вала и тяги реверса. Тяга реверса в данном случае может быть использована для разобщения двигателя с водометом только при его запуске, так как вода в систему охлаждения поступает только при работе ротора водомета — за счет напора около 1 м вод. столба, возникающего в потоке за ротором.
От заборного штуцера, вмонтированного в сопло, вода по трубке 10×1 мм поступает в распределительный коллектор. От коллектора предусмотрены три отвода: на охлаждение двигателя, к змеевику, введенному внутрь корпуса редуктора для охлаждения масла, и к манометру низкого давления, установленному на пульте управления лодкой.
Вода из двигателя, пройдя рубашку глушителя, сбрасывается в газо-водонепроницаемую нишу, вваренную внутрь проставки под выпускным окном поддона. Вода из змеевика редуктора может быть выпущена непосредственно за борт или, чтобы не делать лишнее отверстие в борту, — в глушитель 17, включенный в выпускной трубопровод. Нижний конец глушителя соединяется с выпускным патрубком в транце при помощи дюритового шланга, благодаря чему, а также впрыску воды в выпускной тракт, происходит заметное снижение шумности работы двигателя и вибрации, передающейся на корпус. С этой же целью, а также для компенсации неточностей центровки вала редуктора с валом движителя, соединение этих валов выполняется через муфту с эластичным элементом.
Специальное внимание следует обратить на соединение коленчатого вала с вертикальным валом редуктора. В подвесном моторе погрешности центровки компенсируются за счет упругости довольно длинного торсионного вала — рессоры. В предлагаемой установке может быть применена короткая жесткая муфта, но при условии самой тщательной центровки обоих узлов. В противном случае для того, чтобы гарантировать достаточный ресурс установки, это соединение лучше выполнить также с упругим элементом.
Разумеется, полумуфты 16 должны крепиться с валом посредством таких же предохранительных штифтов, что и гребной винт на подвесном моторе. Водомет не гарантирован от внезапного заклинивания ротора при попадании в водозаборник крупной гальки или какой-либо палки. Срезание штифтов в этом случае спасет двигатель от серьезной неполадки.
Двигатель в сборе с проставкой и редуктором устанавливается на сварном кронштейне из металлических угольников, который опирается на продольные стрингеры корпуса и крепится к ним на болтах. Отцентрировать установку с гребным валом можно за счет толщины прокладок, которые ставят между угольниками кронштейна и поддоном двигателя.
Достоинством этого варианта является использование готового редуктора и двигателя без перестановки карбюратора, стартера, системы зажигания. Запуск и обслуживание практически не отличаются от обычного подвесного мотора. Используя гидрореверс, можно найти такое положение заслонки, при котором лодка будет стоять на месте с работающим двигателем. Запуск можно облегчить, открыв разгрузочный кран, сообщающий пространство водозаборника перед ротором с атмосферой (или же разобщив двигатель от водомета при помощи штатной нейтрали).
К недостаткам можно отнести необходимость введения змеевика для охлаждения масла в редукторе, некоторую потерю мощности за счет удаления настроенной системы выпуска отработавших газов, а также увеличенный по высоте габарит установки, вследствие чего капот двигателя выступает над палубой. Впрочем, от последнего недостатка можно избавиться, если наклонить двигатель на левый борт градусов на 60. Если карбюратор установить на проставке, сохраняющей вертикальное положение поплавковой камеры, то наклонное положение практически не скажется на работе двигателя.
Во втором варианте используется двигатель, отделенный от поддона и установленный горизонтально картером вниз (рис. 45).

Рис. 45. Вариант горизонтальной установки двигателя
«Вихрь-30».
1 — заборник воды в систему охлаждения; 2 — глушитель; 3 — отвод
воды из системы охлаждения двигателя; 4 — выпускной трубопровод dвн = 30 мм; 5 —
коллектор системы охлаждения; 6 — отвод к манометру; 7 — редуктор 1:1,25; 8 —
двигатель «Вихрь-30»; 9 — съемный капот; 10 — передняя опора (крепится к
проушинам стартера); 11 — накладка фундамента, надеваемая на стрингер 12; 12 —
стрингер; 13 — отвод воды из рубашки редуктора; 14 — кормовая опора; 15 —
водяная рубашка редуктора; 16 — подвод воды в рубашку редуктора; 17 — эластичная
муфта; 18 — водометный движитель; 19 — дюритовый шланг; 20 — хомутик; 21 —
выпускной патрубок с фланцем; 22 — прокладка, сталь; 23 — болт М10×25; 24 — болт
с резьбой М8×1,25; 25 — болт М8×50; 26 — болт М8×50.
К фундаменту его крепят при помощи сварных кронштейнов — спереди за отверстия в проушинах под болты стартера и с кормы за четыре отверстия М8×1,5, имеющиеся в нижней крышке картера (они снабжены стальными футорками, обеспечивающими прочность и долговечность резьбы). Для нормальной работы карбюратора его разворачивают на 90°; снимают с передней части двигателя высоковольтные трансформаторы и закрепляют их в более доступных местах. Фланец выпускного патрубка присоединяют непосредственно к выпускному отверстию штатного глушителя, подсоединяют к двигателю подвод и отвод охлаждающей воды.
Наиболее сложным узлом является редуктор с передаточным
отношением 1:1,7. В качестве одного из вариантов можно предложить использование
редуктора с межцентровым расстоянием 81 мм и косозубыми шестернями с модулем 2,5
мм и шириной зуба 16 мм; корпус и крышки фрезеруются из легких сплавов; снаружи
корпус снабжается водяной рубашкой из тонколистового металла. Редуктор может
быть установлен вертикально или положен на бок, тогда ось коленвала двигателя
оказывается смещенной от ДП на 81 мм.






