Изготовление водометного движителя для катера Мурена

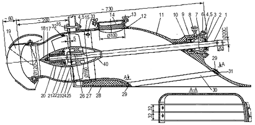
Рис. 31. Водометный движитель.
1 — гребной вал; 2 — крышка корпуса
дейдвудного подшипника; 3 — сальник Ø 20×42×11; 4 — гайка М8 10 шт.; 5 — шайба
8, 10 шт.; 6 — прокладка; 7 — подшипник №46205; 8 — пресс-масленка; 9 — сальник
Ø 25×47×11; 10 — корпус дейдвудного подшипника; 11 — водозаборник; 12 — корпус
смотрового лючка; 13 — гайка-барашек М10, 2 шт.; 14 — крышка лючка, металл,
пенопласт, стеклопластик; 15 — статор (кольцо с фланцем); 16 — болт М8×70, 6шт.;
17 — шплинт 2,5×45; 18 — гайка-обтекатель; 19 — реверсивно-рулевое устройство;
20 — резинометаллический подшипник; 21 — винт М4×12; 22 — гайка М24×1; 23 —
стопорная шайба; 24 — сопло — спрямляющий аппарат; 25 — ротор; 26 — шпонка Б
8×50, сталь 2X13; 27 — заполнитель — пенопласт; 28 — приформовка, стеклопластик;
29 — винт М6×12, 8 шт.; 30 — полоса защитной решетки 3×18; 31 — планка 4×20×150,
2 шт.; 32 — штуцер — водозаборник системы охлаждения двигателя; 33 — штуцер
вентиляции ротора; 34, 35 — фланцы; 36 — ступица спрямляющего аппарата; 37 —
лопатка спрямляющего аппарата; 38 — насадка реверсивно-рулевого устройства; 39 —
шпилька М8×24; 40 — обтекатель.
Основными деталями водометного движителя являются:
- водозаборник с защитной решеткой на входе и фланцем для крепления движителя к транцу катера;
- четырехлопастной ротор, имеющий дисковое отношение A/Ad = 0,8, диаметр 189 и шаг 190 мм;
- сопло с вмонтированным в него спрямляющим аппаратом;
- реверсивно-рулевое устройство и гребной вал с подшипниками и дейдвудным уплотнением.
Водозаборник представляет собой патрубок довольно сложной конфигурации. Его конец, примыкающий к днищу, имеет прямоугольное сечение, которое постепенно переходит в цилиндр в месте расположения ротора. Если корпус катера строится из стеклопластика, имеет смысл изготовить водозаборник также из пластмассы и приформовать его нижнюю кромку непосредственно к днищу корпуса, для этого не потребуется металлический крепеж.
Ротор вращается в статоре (рис. 32) — стальном кольце, благодаря чему обеспечивается необходимая износостойкость внутренней поверхности водомета и точность его сборки.

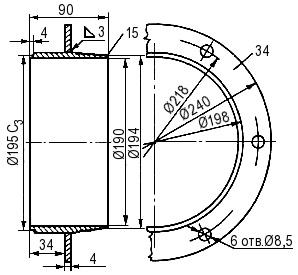
Рис. 32. Статор.
С изготовления этого кольца и привариваемого к нему фланца и следует начать работу. Для металлических деталей движителя желательно использовать нержавеющую сталь, следует также по возможности избегать применения разнородных металлов для предотвращения коррозии. Окончательную обработку внутренней поверхности кольца по диаметру 190 мм и проточку центрирующего пояска для сборки с направляющим аппаратом нужно выполнить после приварки фланца. На поверхности обечайки, к которой будет приформовываться стеклопластиковый водозаборник, необходимо нарезать канавки глубиной около миллиметра для более надежного сцепления металла с пластиком. Внутреннюю поверхность кольца, омываемую водой, желательно отполировать для уменьшения потерь на трение.
Валопровод водомёта
Показанный на чертеже корпус дейдвудного подшипника рассчитан на установку радиально-упорного шарикоподшипника №46205. Если такого подшипника нет, следует откорректировать размеры под имеющийся в наличии, способный выдержать нагрузку до 200 кгс при частоте вращения около 4000 об/мин. Можно выполнить этот узел по типу «вихревского» редуктора — с упорным подшипником №8106 и игольчатым 2.109-000 или встроить упорный узел гребного вала в редуктор.
Установка двигателя
Для привода водомета «Мурены» можно использовать двигатель любого подвесного мотора мощностью свыше 20 л. с. (оптимальным является 30-сильный «Вихрь»), а также двигатели от тяжелых мотоциклов — при условии переделки их на водяное охлаждение и установки редуктора, снижающего частоту вращения гребного вала до 3000 об/мин. При большей частоте вращения КПД движителя будет очень низок, он не разовьет упора, необходимого для преодоления «горба» сопротивления. Особенно, если водомет будет устанавливаться на какую-либо заводскую лодку, имеющую большую, чем у «Мурены» смоченную ширину днища и массу. В качестве примера приводим общую компоновку двух вариантов механической установки с двигателями от подвесных моторов.






