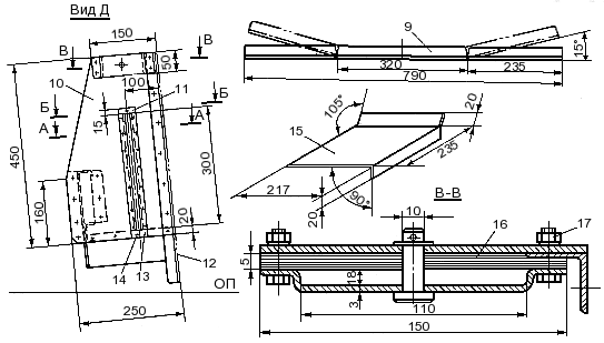
Для изготовления и установки нижних упоров подводное крыло мотолодки "Прогресс" необходимо установить под начальным углом атаки. Протянув шнур параллельно ДП (рис. 33), от среза транца под стойкой носового крыла моторной лодки, нужно повернуть его так, чтобы расстояние от носовой кромки крыла до шнурка, касающегося кормовой кромки плоскости, было равно 8 мм. В этом положении крыло временно фиксируется. Этот угол установки будет соответствовать углу атаки крыла 2° при расчетной посадке лодки во время движения на крыльях.
Из полосы 100×600 толщиной 3 мм нужно вырезать и согнуть по месту подкрепление упора, а также изготовить по месту упорную и ограничительную планки. В районе упорной планки из соснового бруска нужно вырезать заполнитель; снизу - между бортом и подкреплением - плотно подогнать заполнитель и закрепить его шурупами. Стойка крыла должна легко выходить из упора при откидывании крыла в нос и жестко удерживаться упором при крайнем кормовом положении. Аналогично устанавливается упор на второй стойке.
В кормовом положении крыло должно удерживаться пружинами; для этого вполне подходят обычные дверные пружины. Один конец пружины крепится за простейший обушок, закрепленный на планшире в корму от крыла, другой - за винт на стойке крыла (при подъеме крыла этот конец переносится на проточку на оси поворота).
После того как все узлы крепления крыла будут поставлены на место, следует установить рычаг подъема крыла. Поворотом эксцентриков углы установки крыла уменьшаются до крайнего положения, размечаются и сверлятся отверстия под заклепки крепления рычагов к стойкам (поперечина рычага при этом должна быть прижата к палубе).
В поднятом положении крыло удерживается тросиком со скобой, который крепится за поперечину рычага и центральную стойку стекла или за швартовые утки.
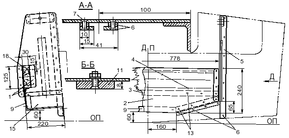
Установка крыльев на лодке с подвесным мотором всегда требует некоторого увеличения заглубления гребного винта. Добиться этого, уменьшая высоту транца, на серийной лодке сложно, поэтому использование выносного кронштейна сохранено и в данной схеме. На этом кронштейне, обеспечивающим заглубление оси гребного винта на 80 мм больше, чем при стандартной высоте транца, и устанавливается кормовое трапециевидное глубокопогруженное крыло.
Кронштейн (рис. 38, 39) изготовляется из легкого сплава марок АМг-5 или Д16Т. Можно сделать его клепаным или сварным (сварка позволит существенно упростить конструкцию).

Рис. 38. Выносной кронштейн.
1 - угольники крепления
подмоторной доски, 30×30×3; 2 - транцевый лист, δ = 3; 3 - угольник
подмоторной доски, 30×30×3; длина 775 мм; 4 - шуруп 3×20, шаг 100 мм;
5 - угольник крепления кронштейна к транцу 30×30×3; длина 520 мм; 6 -
болт М6, 22 шт.; 7 - заклепки Ж4, шаг 45 мм; 8 - планки вертикальных
пазов, d = 4; 9 - нижний угольник транцевого листа, 30×30×3; 10 -
боковая стенка кронштейна, δ = 3; 11 - верхний ограничитель, пластина δ =
8; 12 - транец; 13 - заклепки Ø4, 2 шт.; 14 - нижний
ограничитель, δ = 8; 15 - нижняя бракета, δ = 3; 2 шт. симметрично;
16 - фанерная прокладка; 17 - болт М6×20; 18 - подмоторная
доска.

Рис. 39. Деталировка выносного кронштейна.
Нумерация позиций
соответствует рис. 38.
Транцевый лист, подкрепленный угольником и мощной сосновой подмоторной доской, сверху для усиления имеет отгиб, охватывающий рабочую кромку доски; это одновременно обеспечивает хорошую страховку мотора при возможном ослаблении струбцин. Транцевый лист крепится к транцу лодки двумя боковыми листами и двумя нижними бракетами. На боковых листах до сборки устанавливаются планки вертикальных пазов, по которым должны свободно скользить головки нижних упорных винтов стоек крыла. Нижние упорные планки устанавливаются при сборке кронштейна, верхние - окончательно крепятся при установке крыла.
Собранный кронштейн крепится на транце лодки болтами М6, причем места сверлений под болты следует согласовать с расположением набора транца лодки. Для обеспечения водонепроницаемости болты желательно загерметизировать.






