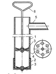
Простейшая помпа
Простейшая помпа - в качестве цилиндра 1 (рис. 64) используется отрезок тонкостенной трубы диаметром 40-65 мм. Длина трубки подбирается такой, чтобы нижний конец доставал до киля внутри лодки, а верхний выступал за борт при наклонном положении помпы. У верхнего конца вваривается отливной патрубок 5 длиной 150-300 мм, который при работе укладывается на планширь лодки.

Рис.
64. Помпа простейшей конструкции.
Снизу на трубу наворачивается муфта 2 с донышком, в котором просверлены отверстия для забора воды из трюма. Нижним клапаном служит резиновый диск 3, прикрепленный к донышку болтом. Такой же диск является верхним клапаном и одновременно уплотнением поршня 4, вырезанного из 5-миллиметровой стали. В поршне также просверливают отверстия для прохода воды при опускании его вниз. Ручку можно сделать из стального прутка Ø8-10 мм. Производительность такой помпы около 50 л/мин. Подобная помпа может быть изготовлена из резинового шланга, а в качестве штока лучше использовать упругую стальную пружину с большим шагом. Такой вариант помпы удобен для выкачивания воды из труднодоступных мест.
Диафрагменная помпа из двух мисок
Плюсы диафрагменной помпы не нуждаются в пояснениях: простота конструкции, большая производительность, компактность, способность откачивать загрязненную воду. Для изготовления данной помпы (рекомендация В. Малиновского) можно использовать две алюминиевые или нержавеющие миски диаметром около 170 мм. Одна из них (рис. 65, 1) образует рабочую полость помпы; в ее дне прорезаются отверстия для всасывающего и нагнетательного патрубков.
Диафрагменная помпа из тормозной камеры
Удобная и эффективная помпа может получиться из старой тормозной камеры грузового автомобиля. Производительность такой помпы составляет около 25 л/мин, напор — 3-4 м. Камеру следует разобрать, снять болты в ее донце и расточить отверстия до диаметра 20 мм для установки двух клапанов. Отверстия в центре и по краям заварить. Шток диафрагмы соединяется с рычагом, согнутым из дюралевой трубки (рис. 68).

Рис. 68. Помпа из тормозной камеры
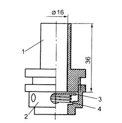
Клапаны (рис. 69) лучше сделать из латуни.

Рис. 69. Конструкция впускного клапана.
1 - гайка М30 -
штуцер шланга; 2 - корпус клапана с отверстиями; 3 - пластина клапана; 4 -
пружина.






