Управление катером Мурена по курсу и задний ход в данной конструкции осуществляется, как и на других водометах за счет изменения направления струи воды, истекающей из сопла движителя. С этой целью близ торца сопла на его цилиндрической насадке закреплена поворотная насадка 9 (рис. 42), которая имеет возможность поворачиваться относительно вертикальной оси на 35° на оба борта.

Рис. 42. Реверсивно-рулевое устройство
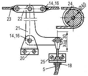
1 — шток рулевого привода, Ø 6 мм; 2 — кронштейн держателя штока; 3 — вращающаяся направляющая штока; 4 — вилка привода, нерж. сталь δ = 2 мм; 5 — трос привода заслонки реверса; 6 — держатель троса; 7 — шток привода реверса; 8 — заслонка реверса; 9 — поворотная насадка; 10 — ось насадки, 2 шт.; 11 — втулка Ø 16×41 = 7; 12 — гайка М8; 13 — шайба 8; 14 — шплинт 1,5×15; 15 — шайба 25×16 δ = 2 мм, латунь; 16 — палец Ø 8×14; 17 — направляющий аппарат; 18 — гайка М14×1; 19 — цапфа заслонки реверса; 20 — кронштейн рычага реверса; 21 — рычаг реверса δ = 3 мм; 22 — планка 2×20, 2 шт.; 23 — трос привода реверса Ø 1,5 — 2 мм; 24 — шкив; 25 — кронштейн упора троса реверсивной заслонки.
На этой насадке шарнирно закреплена заслонка реверса 8, которая для обеспечения заднего хода опускается, перекрывает выходное отверстие насадки 9 и направляет струю по специальному каналу вниз и вперед, под нижний обрез транца. Благодаря тому, что насадка 9 имеет возможность поворачиваться относительно вертикальной оси и при закрытой заслонке, катер сохраняет способность управляться и на заднем ходу, хотя и с меньшим эффектом.
Обе основные детали — насадка и заслонка — изготавливаются из 2-миллиметровой листовой стали (желательно нержавеющей) с применением сварки. К насадке сверху приваривается поперечная планка-траверса, служащая для присоединения штуртросов и троса управления заслонкой реверса. Усилия, которые необходимо прикладывать к заслонке и поворотной насадке, сравнительно невелики, что позволяет для их привода применять тросик двойного действия («тяни-толкай») в боуденовской оболочке. В этом случае рулевой трос присоединяют к одному из плеч траверсы, а второе остается свободным. Если же достать или изготовить такой тросик невозможно, то можно применить обычную штуртросовую проводку, присоединив концы троса обоим концам траверсы, а середину закрепив на барабане штурвала. Отверстия диаметром 14 мм в траверсе служат только для облегчения конструкции.
Для уменьшения трения при повороте насадки в отверстия неподвижной насадки сопла под болты 11 можно запрессовать бронзовые втулки, между трущимися поверхностями обеих деталей поставить бронзовые или же латунные шайбы. Все гайки необходимо зашплинтовать или закернить.На траверсе предусмотрено отверстие для крепления наконечника тросика управления реверсом. Напаянный на конец тросика шток 7 посредством вилки 4 и нагеля 16 соединен с изогнутым рычагом заслонки реверса 8. В случае, если тросик «тяни-толкай» отсутствует, можно применить простой гибкий трос Ø 1,6-2,2 мм. Заслонка будет закрываться при натяжении тросика, а для ее возвращения в исходное положение (переднего хода) придется применить возвратную пружину. Это может быть пружина сжатия, поставленная на шток 7 между траверсой и рычагом заслонки, либо пружина растяжения, закрепленная одним концом к верхней кромке заслонки, а вторым — к специальному обушку на транце.
При изготовлении заслонки и насадки 9 по приведенным чертежам рабочий ход механизма привода должен составить около 30 мм.
Если нет троса двойного действия на полную длину — от рулевого устройства до пульта управления катером, то снаружи на транце лодки можно установить достаточно простой исполнительный механизм, преобразующий горизонтальные перемещения обычного троса натяжного действия, проведенного с пульта управления через систему блоков, в вертикальные перемещения штока 7. Один из вариантов подобных механизмов показан на рис. 43. Сверху механизм закрывается легким кожухом из пластика.

Рис. 43. Исполнительный механизм рулевого устройства. (Нумерация позиций см. рис. 31.)
Нечто подобное требуется сделать и для рулевого привода, расположив механизм в горизонтальной плоскости и соединив его штуртросами с барабаном штурвала. В месте прохода штока 1 сквозь транец придется поставить опору штока, которая обеспечивала бы ему небольшие угловые перемещения при перекладке руля с борта на борт. Разумеется, проход штока через транец нужно уплотнить мягкой манжетой, предотвращающей попадание в лодку воды, особенно при реверсе.
При испытаниях водомета может обнаружиться, что при поворотах и на заднем ходу масса водных брызг вырывается из-под поворотной заслонки. Чтобы ограничить их распространение, рекомендуется выступающую за транец часть движителя закрыть сверху коробчатым кожухом из тонколистового металла или пластика. Кожух не должен мешать управлению катером, а его боковые кромки должны быть отогнуты вниз на 60-80 мм.
Короткий тросик двойного действия для привода реверсивной заслонки можно изготовить из стальной пружинной проволоки Ø 1,8 мм, заключенной в обычную боуденовскую оболочку. При этом жесткость оболочки необходимо увеличить при помощи такой же проволоки, уложенной снаружи вдоль оболочки и прикрепленной к ней обмоткой двумя слоями изоляционной ленты. Конец проволоки припаивается к штоку, причем для надежности соединения проволоку нужно погрузить на глубину 10-15 мм в отверстие, просверленное по центру штока. В качестве штока можно использовать подходящую трубку.
Возможно применение и более простого рулевого устройства с рулем, расположенным у внешнего торца неподвижной насадки цилиндрического или прямоугольного поперечного сечения. Такой руль достаточно эффективен на переднем ходу, а для реверса он разворачивается на 90°, перекрывая выходное отверстие и направляя струю в «носок» — вперед под днище катера. Разумеется, на заднем ходу с таким устройством катер не управляем.






